Детандер
Детандер (от франц. détendre — ослаблять), машина для охлаждения газа путём его расширения с отдачей внешней работы. Детандер относится к классу расширительных машин (см. Пневмодвигатель), но применяется главным образом не с целью совершения внешней работы, а для получения холода. Расширение газа в детандере — наиболее эффективный способ его охлаждения. Детандер используется в установках для сжижения газов и разделения газовых смесей методом глубокого охлаждения, в криогенных рефрижераторах, в установках, имитирующих высотные и космические условия, в некоторых системах кондиционирования воздуха и т.д.
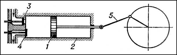
Наиболее распространены поршневые детандеры (рис. 1) и турбодетандеры (рис. 2). Поршневые детандеры — машины объёмного периодического действия, в которых потенциальная энергия сжатого газа преобразуется во внешнюю работу при расширении отдельных порций газа, перемещающих поршень. Они выполняются вертикальными и горизонтальными, одно- и многорядными. Торможение поршневых детандеров осуществляется электрогенератором и реже компрессором. Применяются в основном в установках с холодильными циклами высокого 15—20 Мн/м2 (150—200 кгс/см2) и среднего 2—8 Мн/м2 (20—80 кгс/см2) давлений для объёмных расходов газа при температуре и давлении на входе в машину (физических расходов) 0,2—20 м3/ч. Турбодетандеры — лопаточные машины непрерывного действия, в которых поток проходит через неподвижные направляющие каналы (сопла), преобразующие часть потенциальной энергии газа в кинетическую, и систему вращающихся лопаточных каналов ротора, где энергия потока преобразуется в механическую работу, в результате чего происходит охлаждение газа. Они делятся по направлению движения потока на центростремительные, центробежные и осевые; по степени расширения газа в соплах — на активные и реактивные; по числу ступеней расширения — на одно- и многоступенчатые. Наиболее распространён реактивный одноступенчатый центростремительный детандер, разработанный П. Л. Капицей. Торможение турбинных детандеров осуществляется электрогенератором, гидротормозом, нагнетателем, насосом. Турбодетандеры применяются главным образом в установках с холодильным циклом низкого давления 0,4—0,8 Мн/м2 (4—8 кгс/см2) для объёмных (физических) расходов газа 40—4000 м3/ч. Созданы турбодетандеры для холодильных циклов низкого, среднего и высокого давлений с объёмными расходами газа 1,5—40 м3/ч. Эти машины характеризуются малыми размерами (диаметр рабочего колеса 10—40 мм) и высокой частотой вращения ротора (100000—500000 об/мин).
Лит. см. при ст. Глубокое охлаждение.
А. Б. Давыдов.

Рис. 1. Схема поршневого детандера: 1 — поршень; 2 — цилиндр; 3 — впускной клапан; 4 — выпускной клапан; 5 — кривошипно-шатунный механизм.

Рис. 2. Схема центростремительного реактивного турбодетандера: 1 — спиральный подвод газа; 2 — направляющий сопловой аппарат; 3 — ротор; 4 — отводной диффузор.