Пылемеры
ПЫЛЕМЕРЫ, приборы для определения концентрации и (или) дисперсного состава, т. е. распределения по размерам (в осн. в интервале от менее 1 мкм до неск. десятков мкм), взвешенных в атм. воздухе или пром. газах твердых частиц (пыли, дымы) аэрозолей.
Концентрацию пыли можно измерять без отбора пробы запыленного газа и с ее отбором. В последнем случае необходимо, как правило, получать осадок пыли; для ряда приборов наличие такого осадка не требуется.
Массовые пылемеры-ручные либо автоматич. приборы перио-дич. или непрерывного действия. Пробу запыленного газа отбирают через спец. трубку, установленную входным отверстием навстречу газовому потоку с соблюдением равенства скоростей газа во входном сечении трубки и в потоке. Фиксир. объем пробы просасывают через фильтр и по его привесу находят массу выделенной из газа пыли. Ее концентрацию определяют по отношению массы пыли к данному объему газа. Фильтрующие материалы-тонковолокнистые (стеклянные, синтетич. или минеральные), фильтровальная бумага.
К массовым пылемерам относят радиоизотопные приборы для автоматич. измерения концентрации пыли по приросту массы осадка на фильтре. Действие их основано на пропускании b- или g-излучения через предварительно запыленный фильтр и нахождении степени поглощения этого излучения. Непрерывная работа таких приборов достигается применением движущихся ленточных стекловолокнистых фильтров.
Оптические пылемеры. В фотометрических пылемерах, используемых преим. для анализа атм. воздуха, массу пыли оценивают по интенсивности света, рассеянного (поглощенного) осадком на фильтре (обычно ленточном). Для контроля концентраций пром. пылей наиб. распространены собственно оптические пылемеры, действие к-рых основано на поглощении или рассеянии светового пучка, пропущенного через слой запыленного газа в газоходе. В первом случае луч света от источника проходит через газовый поток и, будучи ослабленным за счет поглощения частицами пыли, попадает на один из двух фотоприемников. Одновременно на др. фотоприемник падает луч сравнения. При мостиковой схеме соединения обоих фотоприемников возникает сигнал рассогласования, к-рый является ф-цией степени поглощения пучка света и, следовательно, площади пов-сти частиц пыли в потоке. Отличие пылемеров, измеряющих общее рассеяние света запыленным газовым потоком, состоит в том, что на фотоприемник поступают световые импульсы, рассеянные отдельными частицами пыли (рис. 1). Оптич. пылемеры-автоматич. приборы, требующие калибровки для каждого вида пыли, т.к. их показания зависят от ее дисперсного состава и оптич. св-в. Применение ИК излучения позволяет уменьшить ниж. предел измерений этих пылемеров с 30-50 до 10 мг/м3.

Рис. 1. Оптический пылемер: 1, 5-защитные стекла; 2-газоход; 3, 4-световые ловушки; 6, 10-линзы; 7-мостовая измерит. схема; 8-фо топриемник; 9-источник света.
Широкую группу пылемеры составляют автоматич. приборы, в к-рых непрерывно отбираемую пробу газа анализируют без получения пылевого осадка. Наиб. просты контактно-электрические пылемеры, действие к-рых основано на приобретении частицами пыли при трении о внутр. пов-сть обычно пластмассовой трубки трибоэлектрич. заряда; его величина пропорциональна площади пов-сти частиц. Недостаток таких пылемеров-зависимость концентрации пыли не только от распределения частиц по размерам, но и от их электрич. св-в. В индукционных пылемерах предварительно заряженные пылевидные частицы пропускают через измерит. камеру со спец. электродом, на к-ром индуцируется заряд, служащий мерой общего заряда частиц, определяемого площадью их пов-сти и, значит, мерой концентрации при условии постоянства дисперсного состава пыли. В емкостных пылемерах запыленный воздух просасывают через трубку, внутри к-рой установлено устройство в виде двух пластин; между ними помещена сетка, находящаяся под напряжением. Устройство включено в контур генератора, частота колебаний к-рого f изменяется по мере осаждения частиц на сетке; изменение f-мера массы осажденной пыли.
Для измерения низких (до единиц мг/м3) концентраций пыли, присутствующей в осн. в атм. воздухе, применяют фотоэлектрич. счетчики, в к-рых запыленный воздух пропускают через освещенную зону (от 0,03 до неск. мм3) и с помощью фотоумножителя регистрируют световые импульсы, рассеянные отдельными частицами под углами до 90°. Эти импульсы преобразуются в импульсы напряжения, к-рые посредством электронной схемы сортируются по амплитудам на неск. диапазонов в соответствии с размерами частиц. Благодаря такой сортировке в приборах с рассеянием под малыми углами (неск. град) снижается влияние разл. факторов на показания счетчика, к-рый без спец. калибровки одновременно определяет концентрацию и размеры частиц (в интервале 0,3-20 мкм). Главный недостаток -ограниченный верх. предел т. наз. счетной концентрации, к-рый при использовании белого света лампы накаливания близок к 108 частиц/м3 и увеличивается в неск. раз в случае использования лазерного пучка. При концентрациях пыли более неск. мг/м3 газ предварительно разбавляют чистым воздухом. Одно из актуальных направлений развития таких счетчиков - объединение их с микропроцессорной системой, позволяющей полностью автоматизировать счет частиц при одновременном определении их размеров, поверочную калибровку приборов и выдачу данных в компактном виде (на цифровом печатающем устройстве или магн. ленте).
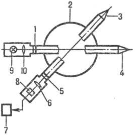
Определение дисперсного состава пром. пылей, особенно при их высоких концентрациях (неск. десятков мг/м3 и бо лее), требует отбора пробы из газового потока с послед. суспендированием пыли в жидкой или газовой фазе, для чего используют спец. приборы (см. Дисперсионный анализ). Для измерений размеров частиц без нарушения их агрегатного состояния (это важно для пылей конденсац. происхождения) широко применяют ручные приборы-импакторы (рис. 2), в к-рых сепарацию пыли осуществляют непосредственно в ходе отбора пробы, что позволяет оценивать размеры агрегированных (скоагулиро-ванных) частиц. Пыль, присутствующая в пробе, разделяется на 5-8 фракций при пропускании газа через последовательно установленные сопла постепенно уменьшающегося диаметра. Частицы соответствующего размера осаждаются на плоских подложках, размещенных напротив сопл. Содержание раз л. фракций находят по привесу подложек за время отбора пробы. Импакторы позволяют одновременно с дисперсным составом оценивать также концентрацию пыли в газовом потоке.

Рис. 2. Импактор: 1, 5-входной и выходной патрубки; 2 - корпус; 3 - пылевой осадок; 4, 7-10-сопла; 6-фильтр.
Для большинства пылемеров характерна погрешность измерений до 20%. Наим. погрешностью обладают радиоактивные приборы, а также фотоэлектрич. счетчики, наибольшей ручные массовые пылемеры. При условии соответствующей калибровки ряд пылемеров можно применять также для определения концентраций и дисперсного состава туманов.
Лит.: Коузов П. А., Основы анализа дисперсного состава промышленных пылей и измельченных материалов, 2 изд., Л., 1974; Клименко А. П., Королев В. И., Шевцов В. И., Непрерывный контроль концентрации пыли, К., 1980; Оптикоэлектронные методы изучения аэрозолей, М., 1981; Янковский С. С., Булгакова Н. Г., Средства контроля запыленности газовых потоков в промышленных условиях, М., 1985; Янковский С. С., Средства измерения массы и дисперсного состава частиц, взвешенных в газовом потоке, М., 1990. Б. С. Сажин, С. С. Янковский.