Стабилизация нефти
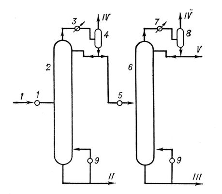
Стабилизация нефти, удаление из нефти, выходящей из нефтяных скважин, остаточного количества углеводородных газов и лёгких жидких фракций после первичной дегазации. Стабилизация нефти осуществляется на нефтяных промыслах или на головных перекачивающих станциях. В стабильной нефти содержание растворённых газов не превышает 1—2%. Углеводородные газы направляются на газоперерабатывающий завод (ГПЗ), а стабильная нефть — на нефтеперерабатывающий завод (НПЗ). В установке стабилизации нефти (см. рис.) исходная нефть нагревается в теплообменниках до 200—250 °С и поступает в ректификационную колонну (давление 0,2—0,5 Мн/м3), из которой отводятся углеводородные газы и пары лёгкого бензина (газовый бензин) в конденсатор-холодильник, а затем поступают в газосепаратор, откуда несконденсированные газы направляются на ГПЗ, а жидкая фаза частично возвращается в ректификационную колонну для орошения. Остальная часть жидкой фазы проходит теплообменник, где нагревается, а затем поступает в ректификационную колонну (давление 0,8—1,2 Мн/м3). Из колонны углеводородные газы отводятся в конденсатор-холодильник и далее поступают в газосепаратор. Из газосепаратора сверху отводится сухой газ, снизу — сжиженная пропан-бутановая фракция, часть которой возвращается в колонну для орошения, остальное направляется в ёмкость. Из колонн и через теплообменники и холодильники отбираются соответственно стабильная нефть и бензин. Для более полного отбора лёгких фракций колонны снизу нагревают.
Лит.: Гуревич И. Л., Технология переработки нефти и газа, 3 изд., ч. 1, М., 1972.
Л. Г. Сарданашвили.

Схема установки для стабилизации нефти: 1, 5 — теплообменники; 2, 6 — ректификационные колонны; 3, 7 — конденсаторы-холодильники; 4, 8 — газосепараторы; 9 — подогреватели. I — исходная нефть; II — стабильная нефть; III — стабильный газовый бензин; IV — сухой газ; V — сжиженная пропан-бутановая фракция.