Термопара
Термопара, датчик температуры, состоящий из двух соединённых между собой разнородных электропроводящих элементов (обычно металлических проводников, реже полупроводников). Действие термопар основано на эффекте Зеебека (см. Термоэлектрические явления). Если контакты (обычно — спаи) проводящих элементов, образующих термопару (их часто называют термоэлектродами), находятся при разных температурах, то в цепи термопары возникает эдс (термоэдс), величина которой однозначно определяется температурой «горячего» и «холодного» контактов и природой материалов, примененных в качестве термоэлектродов.
Термопары используются в самых различных диапазонах температур. Так, термопара из золота, легированного железом (2-й термоэлектрод — медь или хромель), перекрывает диапазон 4—270 К, медь — константан 70—800 К, хромель — копель 220—900 К, хромель — алюмель 220—1400 К, платинородий — платина 250—1900 К, вольфрам — рений 300—2800 К. Эдс термопар из металлических проводников обычно лежит в пределах 5—60 мв. Точность определения температуры с их помощью составляет, как правило, несколько К, а у некоторых термопар достигает ~0,01 К. Эдс термопар из полупроводников может быть на порядок выше, но такие термопары отличаются существенной нестабильностью.
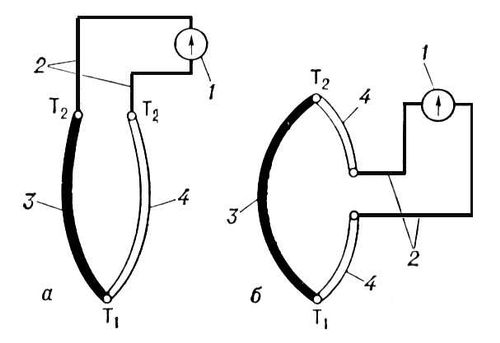
Термопары применяют в устройствах для измерения температуры (см. Термометрия) и в различных автоматизированных системах управления и контроля. В сочетании с электроизмерительным прибором (милливольтметром, потенциометром и т. п.) термопара образует термоэлектрический термометр. Измерительный прибор подключают либо к концам термоэлектродов (рис., а), либо в разрыв одного из них (рис., б). При измерении температуры один из спаев осязательно термостатируется (обычно при 273 К). В зависимости от конструкции и назначения различают термопары: погруженные и поверхностные; с обыкновенной, взрывобезопасной, влагонепроницаемой или иной оболочкой (герметичной или негерметичной), а также без оболочки; обыкновенные, вибротряскоустойчивые и ударопрочные; стационарные и переносные и т. д. См. также Термоэлемент.
Лит.: Сосновский А. Г., Столярова Н. И., Измерение температур, М., 1970.
Д. Н. Астров.

Схемы включения термопары в измерительную цепь: а — измерительный прибор 1 подключен соединительными проводами 2 к концам термоэлектродов 3 и 4; б — в разрыв термоэлектрода 4; T1, Т2 — температура «горячего» и «холодного» контактов (спаев) термопары.