Калориметрия

КАЛОРИМЕТРИЯ (от лат. calor - тепло и греч. metreo - измеряю), совокупность методов измерения кол-ва теплоты, выделяющейся или поглощающейся в к.-л. процессе. Для определения кол-ва теплоты используют спец. приборы - калориметры. Совокупность частей калориметра, между к-рыми распределяется измеряемое кол-во теплоты, наз. калориметрич. системой. Она включает в себя калориметрич. сосуд, в к-ром протекает изучаемый процесс, инструмент для измерения т-ры (ртутный термометр, термометр сопротивления, термопара или термобатарея, терморезистор, кварцевый термометр и др.; при т-рах выше 1300 К используют оптич. пирометры), электрич. нагреватель и др. Калориметрич. систему защищают экранами или оболочками, предназначенными для регулирования ее теплообмена с окружающей средой. Оболочки м. б. изотермическими или адиабатическими. Разность т-р калориметрич. системы и оболочки контролируют простыми и дифференц. термопарами и термобатареями, терморезисторами и т.д. Т-ру оболочки, снабженную электрич. нагревателем, регулируют автоматически с помощью электронных устройств. Все калориметры (в зависимости от принципа измерения кол-ва теплоты) можно условно разделить на калориметры переменной т-ры, постоянной т-ры и теплопроводящие. Наиб. распространены калориметры переменной температуры, в к-рых кол-во теплоты Q определяется по изменению т-ры калориметрич. системы: Q=W.DT, где W - тепловое значение калориметра (т.е. кол-во теплоты, необходимое для его нагревания на 1 К), найденное предварительно в градуировочных опытах, DT - изменение т-ры во время опыта. Калориметрич. опыт состоит из трех периодов. В начальном периоде устанавливается равномерное изменение т-ры, вызванное регулируемым теплообменом с оболочкой и побочными тепловыми процессами в калориметре, т. наз. температурный ход калориметра. Главный период начинается с момента ввода теплоты в калориметр и характеризуется быстрым и неравномерным изменением его т-ры. В конечном периоде опыта, по завершении изучаемого процесса, температурный ход калориметра снова становится равномерным. В калориметрах с изотермич. оболочкой (иногда наз. изопериболич. калориметрами) т-ра оболочки поддерживается постоянной, а т-ры калориметрич. системы измеряют через равные промежутки времени. Для вычисления поправки на теплообмен, к-рая достигает неск. % от DТ используют метод расчета, основанный на законе охлаждения Ньютона. Такие калориметры обычно применяют для определения теплот сравнительно быстрых процессов (продолжительность главного периода опыта 10-20 мин). В калориметрах с адиабатич. оболочкой т-ру оболочки поддерживают близкой к т-ре калориметрич. системы в продолжение всего опыта (т-ру последней измеряют только в начальном и конечном периодах опыта). Поправка на теплообмен в этом случае незначительна и вычисляется как сумма поправок на неадиабатичность и на ход т-ры. Такие калориметры применяют при определении теплот медленно протекающих процессов. По конструкции калориметрич. системы и методике измерения различают жидкостные и массивные, одинарные и двойные (дифференциальные) калориметры и др. В жидкостном калориметре (рис. 1) сосуд заполнен определенным кол-вом т. наз. калориметрич. жидкости (обычно дистиллированной воды, реже этанола, жидкого NH3, вазелинового масла, расплавленного Sn и др.). В сосуд помещают калориметрич. бомбу или ампулу с в-вом. Часто калориметрич. жидкость служит одновременно одним из компонентов к.-л. хим. р-ции.
Такие калориметры наиб. часто применяют для работы при комнатных т-рах для измерения теплоемкости твердых и жидких тел, энтальпий сгорания, разложения, испарения, растворения, хим. р-ций, протекающих в р-рах, и др.
В массивном калориметре вместо калориметрич. жидкости используют блок из металла с хорошей теплопроводностью (Сu, Al, Ag) с выемками для реакц. сосуда, термометра и нагревателя. Их применяют для измерения энтальпий сгорания, испарения, адсорбции и др., но чаще всего для определения энтальпии в-в при т-рах до 3000 К по методу смешения. Энтальпию в-ва рассчитывают как произведение теплового значения калориметра и изменения т-ры блока, измеренных после сбрасывания нагретого до нужной т-ры образца в гнездо блока. Для определения теплоемкости твердых и жидких в-в в области от 0,1 до 1000 К и энтальпий фазовых переходов используют калориметры-контейнеры (рис. 2), в к-рых калориметрич. сосудом служит тонкостенный контейнер (ампула для в-ва) обычно небольшого размера (от 0,3 до 150 см3), изготовленный из меди, серебра, золота, платины, нержавеющей стали.
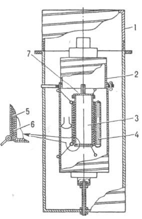
Жидкостной калориметр с изотермической оболочкой
Рис. 1. Жидкостной калориметр с изотермической оболочкой: 1 - калориметрич. сосуд; 2 - калориметрич. бомба; 3 и 9 - термометры калориметра и оболочки соответственно; 4 и 7 - нагреватели калориметра и оболочки соответственно; 5 - мешалки с приводом; 6 - изотермич. оболочка, заполненная водой; 8 - змеевик для охлаждения оболочки; 10 - контактный термометр для регулировки т-ры оболочки.

Калориметры-контейнеры, предназначенные для работы при низких т-рах, кроме системы изотермич. или адиабатич. оболочек, защищают вакуумной рубашкой и помещают в криостат (сосуд Дьюара), заполненный в зависимости от температурной области жидким Не, Н2 или N2. Для работы при повыш. т-рах калориметр помещают в термостатированную электрич. печь. Теплоемкость С = Q/DТ обычно определяют методом периодического, реже - непрерывного ввода теплоты.
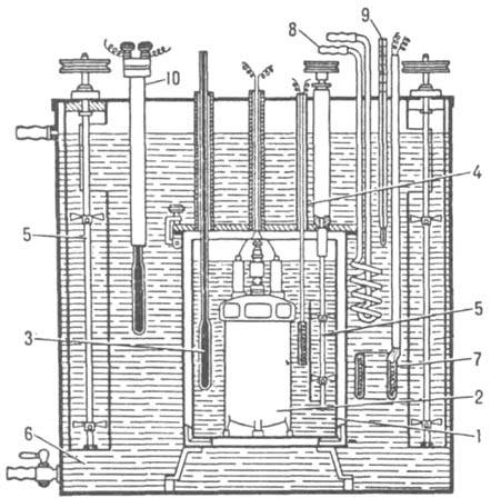
Адиабатический калориметр-контейнер
Рис. 2. Адиабатический калориметр-контейнер для определения теплоемкости твердых и жидких в-в при низких т-рах: 1, 2 - адиабатич. оболочки; 3 - калориметр; 4 - платиновый термометр сопротивления; 5 - нагреватель; 6 - герметичный платиновый контейнер для в-ва; 7 - крышка контейнера.

Теплоемкость газов и жидкостей при постоянном давлении определяют в проточных калориметрах - по разности т-р на входе и выходе стационарного потока газа или жидкости, мощности этого потока и джоулевой теплоте, выделенной электрич. нагревателем. При измерениях небольших тепловых эффектов, а также теплоемкостей применяют двойной калориметр, имеющий две совершенно одинаковые калориметрич. системы (жидкостные, массивные, тонкостенные), к-рые находятся при одной и той же т-ре и имеют одинаковый теплообмен с оболочкой. Вместо поправки на теплообмен вводят небольшую поправку на неидентичность калориметрич. систем (блоков), определяемую предварительно. При определении тепловых эффектов экзотермич. р-ций в одном из блоков выделяется неизвестное кол-во теплоты исследуемой р-ции Qx (напр., р-ции полимеризации), а в другой блок вводится известное кол-во теплоты Q так, чтобы т-ры обоих блоков были равны в продолжение всего опыта, тогда Qx = Q. В случае эндотермич. р-ций теплота Q вводится в тот блок, в к-ром протекает процесс. В калориметрах постоянной температуры, или изотермических, кол-во теплоты измеряют по кол-ву в-ва, изменившего свое агрегатное состояние (плавление льда, нафталина или испарение жидкости). Теплопроводящие калориметры (иногда их наз. диатермическими) используют в калориметрии теплового потока, в к-рой определение Q основано на измерении мощности теплового потока dQ/dt (t - время). К этой калориметрии относят микрокалориметрию Тиана-Кальве и дифференциальную сканирующую калориметрию. В первой записывают кривые dQ/dt =f(t)при постоянной т-ре, во второй - кривые dQ/dt = f(t, I) при постоянной скорости нагревания и охлаждения. Величину Q определяют по площади пика на кривой нагревания: Q.m = K.A, где К - калибровочная константа, А - площадь, т - масса в-ва. Теплопроводящие калориметры должны обладать значит. теплообменом с оболочкой, чтобы большая часть вводимой в них теплоты быстро удалялась и состояние калориметра определялось мгновенным значением мощности теплового процесса. Такие калориметры (рис. 3) представляют собой металлич. блок с каналами, в к-рых помещаются цилиндрич. камеры, чаще всего две, работающие как дифференц. калориметр. В камере проводится исследуемый процесс, металлич. блок играет роль оболочки, т-ра к-рой может поддерживаться постоянно с точностью до 10-6 К. Передача теплоты и измерение разности т-р камеры и блока осуществляется с помощью термобатарей, имеющих до 1000 спаев; эдс измерительной термобатареи и соответствующий тепловой поток пропорциональны малой разности т-р, возникающей между блоком и камерой, когда в ней выделяется или поглощается теплота. Чувствительность калориметров достигает 0,1 мкВт.
Микрокалориметр Кальве
Рис. 3. Микрокалориметр Кальве: 1 - калориметрич. камера, окруженная термоспаями детекторной и компенсационной термобатарей; 2 - блок (оболочка) калориметра; 3 - термостатирующая оболочка; 4 - тепловая изоляция; 5 - трубка для введения в-ва в калориметр.

Микрокалориметры типа Кальве используют для изучения кинетики и определения энтальпий медленно протекающих процессов, а также энтальпий растворения в металлич. и оксидных расплавах (т. наз. высокотемпературная калориметрия растворения). Калориметры дифференциально-сканирующей калориметрии применяют для определения теплоемкости, энтальпии фазовых превращений, хим. р-ций с участием газа и др. Для определения теплоемкости в-в при т-рах до 4000 К, обладающих значит. электропроводностью (металлы, сплавы), используют методы модуляционной и импульсной калориметрии. В первой измеряют амплитуду колебаний т-ры образца при пропускании через него перем. тока известной частоты, во второй - подъем т-ры при нагр. тонкой проволоки (или стержня), изготовленной из образца, импульсами тока. К импульсной калориметрии относится метод калориметрии с нагревом вспышкой лазера, к-рый применяют для исследования металлич. и керамич. материалов, а также жидких в-в в интервале т-р 80-1100 К. Выбор методики, конструкции и типа калориметра определяется характером и продолжительностью изучаемого процесса, диапазоном т-р, в к-ром проводят измерение, кол-вом измеряемой теплоты и требуемой точностью. Совр. калориметры охватывают диапазон т-р от 0,1 до 4000 К и позволяют измерять кол-во теплоты от 10-5 до неск. тыс. Дж с длительностью изучаемых процессов от долей с до десятков суток. Точность измерений до 10-2%. Данные калориметрии применяют во мн. областях химии, в теплотехнике, металлургии, хим. технологии. Они используются для расчета термодинамич. свойств в-в, расчета хим. равновесий, установления связи между термодинамич. характеристиками в-ва и их св-вами и строением; составления тепловых балансов технол. процессов. Важное значение имеет калориметрич. изучение природы и структуры р-ров, процессов образования минералов. Калориметрия теплового потока применяется: в металлургии для определения энтальпий образования жидких и твердых металлич. сплавов, интерметаллич. соед. и др., в физ. химии и биохимии для изучения жидких кристаллов, идентификации и изучения св-в полимеров (напр., степени кристалличности и кинетики кристаллизации, т-р стеклования), изучения кинетики и термодинамики процессов с участием высокомол. соед., в т.ч. биополимеров; в аналит. химии для количеств. анализа смесей, определения чистоты в-в. Основоположником калориметрии считают Дж. Блэка, создавшего в сер. 18 в. первый ледяной калориметр. Термин "калориметр" предложен А. Лавуазье и П. Лапласом в 1780.

Литература
Попов М. М., Термометрия и калориметрия, 2 изд., М., 1954; Кальвс Э., Прат А., Микрокалориметрия, пер. с франц., М., 1963; Скуратов С. М., Колесов В. П., Воробьев А. Ф., Термохимия, ч. 1 2, М., 1964-66; Уэндландт У., Термические методы анализа, пер. с англ., М., 1978; Шестак Я., Теория термического анализа, физико-химические свойства твердых неорганических веществ, пер. с англ., М., 1987 Г. А. Шарпатая.