Тарельчатые аппараты
ТАРЕЛЬЧАТЫЕ АППАРАТЫ, массообменные вертикальные колонные аппараты, снабженные расположенными одна над другой поперечными перегородками, или тарелками, с помощью к-рых по высоте колонны осуществляется многократный дискретный контакт газа (пара) с жидкостью. Организованное движение фаз на тарелках м. б. прямо-, противо- или перекрестноточным, а также смешанным при общем противотоке фаз по колонне (газ либо пар поднимается вверх, жидкость стекает вниз). В зависимости от назначения массообменного процесса (см., напр., Абсорбция, Газов осушка, Массообмен, Ректификация, Экстракция жидкостная) в колонном аппарате устанавливают 1-100 тарелок и более.
Требования к тарелкам и режимы работы аппаратов. Разнообразие применяемых тарелок обусловлено предъявляемыми к ним требованиями. К последним относят: обеспечение на их пов-сти (плато) соответствующего запаса жидкой фазы (т. наз. задержка жидкости); достижение необходимой разделит. способности при изменении нагрузок по газу или жидкости; малое гидравлич.. сопротивление газовому потоку; миним. брызгоунос (с ниж. тарелок на верхние) для предотвращения снижения движущей силы процесса и уменьшения числа тарелок; возможность работы аппаратов в адиабатич. условиях (напр., при ректификации), а также подвода теплоты непосредственно в зону контакта фаз и отвода из нее теплоты (достигается установкой над плато тарелок спец. змеевиков); возможность проводить процесс в вакууме (до 8 Па); высокая эффективность обеспечивается при низком гидравлич. сопротивлении и малых нагрузках по жидкости либо под давлением (до 32 МПа); повыш. нагрузки по жидкости, влияние гидравлич. сопротивления невелико.
Эффективность тарелок любых конструкций в значит. степени зависит от способов контактирования фаз на их пов-сти. Различают барботажный и струйный гидродинамич. режимы работы тарелок. В барботажном режиме на тарелках поддерживается слой жидкости (сплошная фаза), через к-рый барботирует восходящий поток газа (дисперсная фаза), распределяясь в жидкости пузырьками (см. также Барботирование). С повышением нагрузок по газу происходит инверсия фаз, при к-рой в сплошной (газовой) фазе распределена в виде капель и струй дисперсная (жидкая) фаза; такой режим наз. струйным.
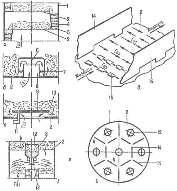
Аппараты с барботажными тарелками. В барботажном режиме работают ситчатые, колпачковые, клапанные (рис. 1), а также провальные тарелки. Для тарелок первых трех типов барботаж газа и движение жидкости происходят в условиях перекрестного тока благодаря равномерно распределенным на плато тарелок их элементам (отверстиям, колпачкам, клапанам) и наличию переливных устройств (переливных и приемных карманов); задержка жидкости задается высотой переливной перегородки (10-100 мм). Своб. сечение (суммарная площадь всех отверстий или щелей) для прохода газа составляет 1-30%, а площадь, занимаемая переливными устройствами, - ок. 20% от площади поперечного сечения колонны. На провальных тарелках реализуется противоточный контакт фаз.
Нагрузка по газу характеризуется т. наз. F0-фактором [F0 = u
(rG-плотн. газа, u-его скорость в поперечном сечении аппарата)], к-рый достигает 2-2,5 кг0,5/(с·м0,5). С помощью параметра F0 находят диаметр тарельчатого аппарата по ф-ле:
, где V- объемный расход газа. С увеличением диаметра колонн нагрузки на переливы возрастают пропорционально D2, а длина переливной перегородки-пропорционально D, что требует создания многопоточных тарелок с увеличенной площадью переливов; известны двух- и даже четырехпоточные тарелки, обеспечивающие работоспособность аппарата при жидкостных нагрузках до 100 м3/(м2·ч). Скорость газового потока на каждой тарелке должна быть такой, чтобы жидкость не "проваливалась" через отверстия (щели) на нижележащую тарелку; для предотвращения снижения эффективности массопереноса должны отсутствовать также байпасные (не контактирующие с газом) потоки жидкости по плато тарелок.
Ситчатые тарелки (рис. 1,а) имеют перфорир. плато с диаметром отверстий (щелей) 0,8-20 мм. Для них характерно динамич. взаимод. газа с жидкостью, при к-ром "провал" отсутствует и реализуется ее переток по плато (напр., в ситчатых экстракторах). При необходимости отвода (подвода) теплоты над плато устанавливают змеевики (напр., в произ-ве разб. HNO3).
Колпачковые тарелки (рис. 1,б) имеют колпачки разл. формы, снабженные прорезями в виде зубцов, проходя между к-рыми, газ (пар) диспергируется, что увеличивает нов-сть его контакта с жидкостью. Эти тарелки также работают в беспровальном режиме и характеризуются более широким по сравнению с ситчатыми тарелками диапазоном нагрузок по фазам. Это обусловливает их применение в ряде хим.-технол. процессов, несмотря на повыш. гидравлич. сопротивление, значит. металлоемкость и трудоемкость изготовления. Созданы и используются в нек-рых произ-вах (напр., при концентрировании HNO3) аппараты с однокол-пачковыми тарелками.
Клапанные тарелки (рис. 1,в) позволяют изменять своб. сечение установкой на их плато подвижных круглых или прямоугольных клапанов. Высота их подъема увеличивается с ростом скорости газа и регулируется спец. ограничителями либо весом клапана.
Провальные тарелки не имеют переливных устройств, их плато перфорировано круглыми, квадратными и др. формы отверстиями диаметром 20-100 мм. Через эти отверстия периодически или одновременно проходит газ и стекает ("проваливается") жидкость. В результате проти-воточного взаимод. фаз на тарелках поддерживается слой жидкости, достаточный для обеспечения высокой эффективности аппаратов с такими тарелками. Однако рабочий диапазон нагрузок по фазам, а также средняя движущая сила массопереноса на провальных тарелках меньше, чем на тарелках с переливами.
Аппараты со струйными и струйно-барботажными тарелками. Стремление к созданию тарельчатых аппаратов, функционирующих при повыш. нагрузках по газу [F0 = 3-5 кг0,5/(с·м0,5)], привело к конструкции струйных тарелок. Прямоточный или перекрестно-прямоточный контакт фаз на них осуществляется путем направленного ввода газа при проходе через ситчатое плато с помощью находящихся на нем чешуек или клапанов, ориентированных в сторону слива, поэтому выходящий из отверстий с высокой скоростью газ дробит жидкость на капли и струи, и газо-жидкостной поток транспортируется над плато тарелок к переливному устройству. Созданы тарелки, плато к-рых выполнено из просечно-вытяжного листа с установкой поперек газо-жидкостного потока отбойников для уменьшения брызгоуноса. Поскольку газо-жидкостной поток существенно неравномерен (волны, раскачка, локальный "провал" жидкости, застойные зоны и байпасные потоки), плато тарелок новых отечеств. конструкций секционируют. Различают продольно-поперечное и продольное секционирование.

Рис. 1. Барботажные и струйные тарелки: а-ситчатая; б-колпачковая; в-клапанная; г-с продольно-поперечным секционированием и двумя зонами контакта фаз (А-одноэлементная, Б-семиэлементная); д-чешуйчатая с продольным секционированием жидкостного потока (показана часть плато тарелки). Элементы тарелок: 1-корпус аппарата; 2-плато; 3, 14-переливная и секционирующая перегородки; 4, 5-переливной и приемный карманы; 6, 7-колпачок и прорези на нем; 8-патрубок; 9, 10, 11-клапан и ограничители его посадки и подъема; 12-двухщелевое цилиндрпч. переливное устройство; 13-отбойный направляющий диск; 15-чешуйки.
Тарелки с продольно-поперечным секционированием (рис. 1, г) имеют две зоны контакта фаз: бар-ботажную и дополнительную (пленочная зона), создаваемую за счет специально организованного слива жидкости с одной тарелки на другую (двухщелевое цилиндрич. переливное устройство с отбойным направляющим диском). Газ после барботажа контактирует с жидкостью в пленочной зоне. Сепарирующее действие пленки и увеличенное рабочее плато (отсутствуют приемные карманы) позволяют значительно интенсифицировать массоперенос и практически удвоить по сравнению с барботажными тарелками нагрузки по газу. Благодаря развитой длине переливных перегородок тарелки могут работать при очень высоких нагрузках по жидкости. С помощью поперечных секционирующих перегородок выделяются самостоятельно функционирующие элементы тарелок, между к-рыми возможно перераспределение фаз. Такое секционирование исключает неравномерность контакта фаз и дает возможность создавать тарельчатые аппараты для агрегатов большой единичной мощности (произ-ва NH3 и H2SO4, разделение газов, нефтепереработка и др.).
Тарелки с продольным секционированием (рис. 1, д). Установкой вдоль направления движения жидкости перегородок достигается секционирование на лотко-образные элементы, между к-рыми также могут перераспределяться фазы. На плато тарелок размещены чешуйки (клапаны), направляющие поток газа перекрестно по отношению к жидкостному потоку и во взаимно противоположных направлениях в соседних рядах чешуек. На таких тарелках струйно-направленное взаимод. фаз сочетается с противонаправленным контактом струй. Тарелки работают как в струйном, так и в барботажном режимах.
Аппараты с тарелками других конструкций. Тарельчатые аппараты широко применяют для решения многообразных задач пром. экологии: очистки отбросных газов при организации газооборотных циклов, очистки газов от пыли, конденсации целевых продуктов из отходящих материальных потоков и т.д. Специфика работы тарельчатых аппаратов для этих процессов определяется необходимостью создания тарелок, обладающих крайне низким гидравлич. сопротивлением и малым брызгоуносом при высоких скоростях газа в поперечном сечении колонны, а также обеспечивающих очистку больших кол-в газа незна-чит. кол-вом жидкости.

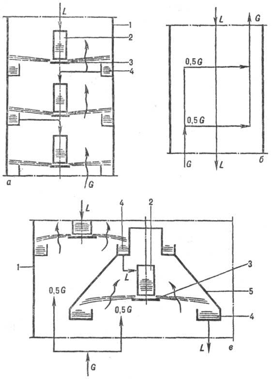
Рис. 2. Тарелки с дискретно-гидродинамическим контактом фаз и делением газового потока: а-пленочная тарелка; б-принцип деления потока газа; в-схема элемента колонны. Элементы тарелок: 1-корпус аппарата; 2-одно-щелевой цилиндрич. перелив; 3-отбойный направляющий диск; 4-приемные карманы; 5 - секционирующие перегородки; G, L- потоки газа (пара) и жидкости,
К таким контактным устройствам относят тарелки с дискретно-гидродинамическим контактом фаз, или пленочные тарелки (рис. 2, а). На них отсутствует плато, а дискретный контакт фаз создается взаимод. сформированных с помощью цилиндрич. щелевых переливов кольцевых струй жидкости (пленок) с потоком газа. После контакта с ним жидкость собирается в приемном желобе и перетекает в перелив нижерасположенной тарелки. В тарельчатых аппаратах для процессов очистки газов используется принцип деления потоков, заключающийся в том, что в зоне контакта газ разделяется на два потока, к-рые последовательно взаимод. с жидкостью (рис. 2, б). Сочетание дискретно-гидро-динамич. контакта фаз с делением потоков (рис. 2, б) применяют в тарельчатых аппаратах для очистных систем, функционирующих при F0 = 3.5-9,0 кг0,5/(с·м0,5), низких жидкостных нагрузках [0,7 м3/(м2·ч)] и незначит. гидравлич. сопротивлении тарелок.
На тарелках с повышенной однородностью га-зо-жидкостного слоя сочетаются барботажный и струй-но-направленный контакты фаз. Это позволяет очищать в тарельчатых аппаратах запыленные отбросные потоки газа, обеспечивая смыв твердых частиц, осаждающихся на плато тарелок.
Разновидность тарельчатых аппаратов-тарельчато-насадочные аппараты, в к-рых размещены с зазором чередующиеся слои тарелок и насадок (см. Насадочные аппараты).
Лит.: Чехов О. С, Рыбинский А. Г., Николайкин Н. И., "Хим. пром-сть за рубежом", 1976, № 6, с. 58-79; Аксельрод Ю. В., Газожидкостные хемосорбциониые процессы, М., 1989; Prinzler H. W., Summer distillations, Lpz, 1983vp. 265-98. О. С. Чехов.