Сепарация воздушная
СЕПАРАЦИЯ ВОЗДУШНАЯ (от лат. separatio-отделение), разделение твердых полидисперсных систем на фракции по скорости осаждения частиц разной крупности (с преимуществ. размером менее 2-3 мм, реже-до 13 мм) под действием центробежно-гравитац. сил в горизонтальном или восходящем потоке воздуха.Сепарация воздушная подчиняется общим законам осаждения твердых тел, как и классификация гидравлическая, однако существенно от нее отличается. Поскольку сопротивление воздуха движению твердых частиц значительно меньше сопротивления воды, частицы осаждаются в воздухе во много раз быстрее, чем в воде.
Сепарация воздушная осуществляется в спец. аппаратах-пневмоклассификаторах, или воздушных сепараторах. Разделение в последних твердых материалов основано на том, что при их вращении с несущей средой (воздухом) или без нее более крупные частицы, обладающие большей центробежной силой, перемещаются в радиальном направлении к периферии аппарата быстрее; чем мелкие частицы, вытесняя их к центру. Непосредственно разделение материала на фракции происходит под действием центробежных сил. Гравитац. силы выводят крупную фракцию из сепарац. зоны, что обеспечивает непрерывность процесса.
Простейшими пневмоклассификаторами можно считать циклоны, однако их используют чаще не для сепарации, а для отделения частиц от несущего потока. Собственно воздушные сепараторы подразделяются на воздушно-проходные и воздушно-циркуляционные; аппараты обоих типов работают обычно в замкнутом, иногда в открытом циклах с мельницами сухого помола.
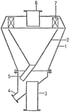
В воздушно-проходной сепаратор (рис. 1) измельченный исходный материал поступает в потоке воздуха через патрубок 3 в кольцевое пространство между корпусом 1 и внутр. конусом 2. Вследствие увеличения в этом пространстве проходного сечения скорость несущей среды снижается в неск. раз. При этом наиб. крупные твердые частицы под действием силы тяжести осаждаются из потока и через патрубок 4 возвращаются на доизмельчение. Воздушному потоку, к-рый проходит далее через тангенциально установленные поворотные лопатки 7, сообщается вращат. движение, и центробежными силами инерции крупные частицы отбрасываются на стенки конуса, опускаются по ним и удаляются через патрубок 5. Воздух вместе с мелкими взвешенными частицами отсасывается вентилятором (на рис. не показан) через патрубок 6 и подается в циклон, где частицы осаждаются, а воздух возвращается в мельницу (при работе в замкнутом цикле) или выбрасывается наружу. Работу сепаратора регулируют изменением скорости воздуха или положения лопаток.

Рис. 1. Воздушно-проходной сепаратор: 1-корпус; 2-внутр. конус; 3-патрубок для ввода исходного материала; 4, 5 - патрубки для удаления крупных частиц; 6-патрубок для удаления с воздухом мелких частиц; 7-поворотные лопатки.

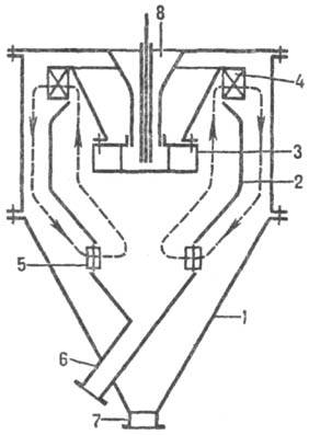
Рис. 2. Воздушно-циркуляционный сепаратор: 1-корпус; 2-внутр. конус; 3 - распределит. диск; 4-вентилятор; 5-заслонка; 6, 7-патрубки соотв. для удаления крупных и мелких частиц; 8-воронка.
Воздушно-циркуляционный сепаратор (рис. 2) снабжен вентилятором, создающим внутри аппарата замкнутый поток воздуха (его циркуляция показана стрелками). Измельченный материал из воронки поступает на вращающийся распределит. диск и отбрасывается центробежными силами к стенкам внутр. конуса. При этом крупные частицы сползают по ним и удаляются через патрубок 6, мелкие частицы, подхваченные воздушным потоком, осаждаются на стенках корпуса, спускаются вдоль них и выгружаются через патрубок 7 (этот процесс аналогичен выделению пыли в центробежных циклонах; см. также Пылеулавливание). Разделение материалов на фракции регулируется поворотом заслонки, в результате чего изменяется величина потока циркулирующего воздуха. Описанный сепаратор по сравнению с воздушно-проходным более компактен и требует меньшего расхода энергии.
Сепарацию воздушную применяют при получении тонких порошков (см. Измельчение), при обогащении руд, в произ-вах минер. удобрений, пластмасс и СК, пигментов и красителей, стекла, строит. материалов и др.
Лит.: Сиденко П. М., Измельчение в химической промышленности, 2 изд., М., 1977, с. 293, 294, 307-17; Процессы и аппараты химической промышленности, под ред. П. Г. Романкова, Л., 1989, с. 519, 520, 526, 527.