Хроматографы
Хроматографы, приборы или установки для хроматографического разделения и анализа смесей веществ (см. Хроматография). Основными частями хроматографов являются: система для ввода исследуемой смеси веществ (пробы); хроматографическая колонка; детектирующее устройство (детектор); системы регистрации и термостатирования; для препаративных (в т. ч. производственных) хроматографов, кроме того, отборные приспособления и приёмники для разделённых компонентов.
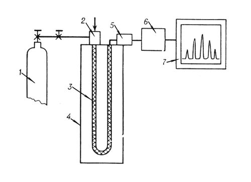
В соответствии с агрегатным состоянием используемой подвижной фазы существуют газовые и жидкостные хроматографы. В подавляющем числе хроматографов реализуется проявительный вариант хроматографии. В газовом хроматографе (см. рис.) газ-носитель из баллона через регуляторы расхода и давления непрерывно с постоянной или переменной скоростью подаётся в хроматографическую колонку-трубку (диаметром 2—5 мм и длина 1—10 м), заполненную сорбентом и помещенную в термостат, позволяющий поддерживать заданную температуру (вплоть до 500 °С).
Ввод газообразной пробы (1—50 см3) и жидкой (несколько мкл) осуществляется либо вручную (газовым шприцем или микрошприцем), либо автоматически — при помощи микродозаторов. В хроматографической колонке происходит разделение исходной многокомпонентной смеси на ряд бинарных смесей, состоящих из газа-носителя и одного из анализируемых компонентов. Бинарные смеси в определённой последовательности, зависящей от сорбируемости компонентов, поступают в детектор. В результате происходящих в детекторе процессов (изменения теплопроводности, ионизационного тока и др.) фиксируется изменение концентрации выходящих компонентов; преобразованные в электрический сигнал, эти процессы записываются в виде выходной кривой.
Наиболее распространённые детекторы газовых хроматографов — термокондуктометрические и ионизационные. Типичным примером первых является детектор по теплопроводности (катарометр), в мостовую цепь которого включены две ячейки для измерения теплопроводности; через них протекают потоки чистого газа-носителя и бинарная смесь. Теплопроводность последней отличается от теплопроводности чистого газа-носителя; поэтому при прохождении бинарной смеси через чувствительный элемент детектора — нагретую спираль с сопротивлением 10—80 ом — меняются температура и сопротивление спирали в зависимости от концентрации компонента. Такой детектор позволяет определять концентрации веществ в пределах 10-1—10-2%.
Главной частью ионизационных детекторов является ионизационная камера, где происходит ионизация молекул, попадающих в неё с потоком газа-носителя из хроматографической колонки. Ионизацию исследуемых веществ осуществляют в пламени водорода, метастабильными атомами аргона или гелия, медленными электронами и т.д. Ионы под воздействием приложенного напряжения перемещаются в ионизационной камере, что приводит к образованию электрического тока. Ионизационные детекторы позволяют определять концентрации веществ в пределах 10-4—10-7%.
Термокондуктометрические и ионизационные детекторы характеризуются чувствительностью (минимально определяемая концентрация вещества), селективностью (способность избирательно определять в смеси отдельные компоненты), прямой зависимостью сигнала от концентрации.
В жидкостном хроматографе в качестве детектирующего устройства используют проточный рефрактометр, включаемый по дифференциальной схеме, или детектор поглощения в ультрафиолетовой области. Подачу подвижной фазы — растворителя осуществляют при помощи беспульсационных систем (давление до 50 Мн/м2, или 500 кгс/см2), а ввод пробы — микрошприцем или переключающимся краном. Длина хроматографической колонки в жидкостном хроматографе не превышает 1 м. В целом детекторы жидкостных хроматографов обладают существенно меньшей чувствительностью (примерно на 2 порядка), чем детекторы газовых хроматографов. Для точного измерения концентраций веществ детекторы калибруют по смесям известного состава.
Достигаемые скорость и точность анализа в хроматографах во многом определяются правильным выбором рабочего режима детектора и условий эксперимента (тип сорбента, температура, скорость газа-носителя, длина хроматографической колонки и др.). Для ускорения анализа применяют программированное во времени изменение температуры хроматографической колонки или расхода газа-носителя.
Лит.: Приборы для хроматографии, М., 1973; Бражников В. В., Дифференциальные детекторы для газовой хроматографии, М., 1974.
К. И. Сакодынский.

Принципиальная схема газового хроматографа: 1 — баллон с инертным газом; 2 — устройство для ввода пробы в хромотографическую колонку; 3 — хромотографическая колонка; 4 — термостат; 5 — детектор; 6 — преобразователь сигналов; 7 — регистратор.