Внутреннее вращение молекул

ВНУТРЕННЕЕ ВРАЩЕНИЕ МОЛЕКУЛ, вращение фрагментов молекулы относительно друг друга вокруг соединяющей их хим. связи. Обусловливает возникновение разл. конформаций молекулы, характеризуемых определенными значениями потенциальной энергии. Последняя меняется периодически при изменении угла относит. поворота1076-28.jpg фрагментов молекулы (волчков) и описывается потенциальной ф-цией внутр. вращения 1076-29.jpg. Максимумы потенциальных кривых (см. рис. 1) соответствуют нестабильным конформациям, минимумы - стабильным. Высота максимума по отношению к соседнему минимуму наз. потенциальным барьером внутреннего вращения V0. В зависимости от соотношения значений V0 и тепловой энергии молекул, равной kT (k-постоянная Больцмана, Т - абс. т-ра в К), различают своб. внутреннее вращение, когда V01076-30.jpgk Т (напр., вращение метальных групп в СН3С1076-31.jpgССН3), и заторможенное внутреннее вращение, когда V01076-32.jpgkT (напр., в С2Нб, для к-рого V0 = 12,5 кДж/моль). При V01076-33.jpgkT внутреннее вращение отсутствует, как, напр., в молекуле СН2=СН2 при обычных т-рах. При своб. внутреннем вращении любые относит. ориентации вращающихся групп (т.е. все конформации) практически равновероятны. При заторможенном внутреннем вращении и его отсутствии существуют преим. стабильные конформации, причем в первом случае между ними осуществляются конформа-ционные переходы, а во втором нет. Появление потенциального барьера внутреннего вращения вокруг одинарной связи приближенно можно объяснить невалентными взаимод. атомов вращающихся фрагментов, природа к-рых та же, что и у межмолекулярного взаимодействия. Более строгое объяснение м. б. получено при квантовомех. рассмотрении с использованием неэмпирич. методов.

Число максимумов (и минимумов) потенциальной ф-ции внутреннего вращения для1076-34.jpg в пределах от 0 до1076-35.jpg(т.е. кратность барьера1076-36.jpg , где l-период ф-ции) зависит от природы атомов, связывающих вращающиеся фрагменты молекулы, числа и кратности образуемых каждым из этих атомов связей и от валентных углов. Так, для молекулы Н2О2 барьер двукратный, для С2Н6 - трехкратный, для CH3BF2-шестикратный. Чем выше порядок связи, вокруг к-рой происходит вращение, тем больше величина V0. Общее выражение1076-37.jpg можно представить мат. рядом Фурье:
1076-38.jpg

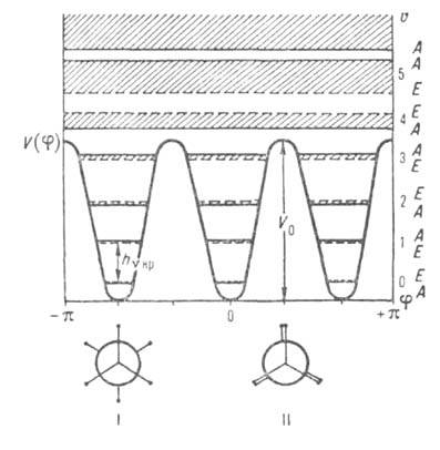
где а0, am - коэф., т= 1,2,3... В случае симметричного трехкратного барьера (напр., когда волчок - группа СН3, имеющая поворотную ось симметрии 3-го порядка С3) п = 3, и при1076-39.jpg , т.е.1076-40.jpg описывает положение минимумов (V=0) и максимумов (V= V0)потенциальной кривой; последующие члены ряда будут уточнять лишь ее форму (крутизну). Решение соответствующей квантовомех. задачи при заданном виде1076-41.jpgв принципе позволяет найти набор энергетич. уровней для заторможенного внутреннего вращения. Общий характер уровней энергии для трехкратного барьера показан на рис. 1.
Потенциальная функция и уровни энергии заторможенного внутреннего вращения для молекул

Рис. 1. Потенциальная функция и уровни энергии заторможенного внутреннего вращения для молекул, подобных этану. I-стабильные заторможенные (шахматные) конформации, II - заслоненные нестабильные конформации.

Термин "вращение" не является строгим и исчерпывающим. При высоких барьерах в ниж. части потенциальных ям система уровней энергии больше соответствует колебат. характеру движения и м. б. описана даже в приближении гармонического осциллятора: E(v) = hvкр(v + 1/2), где v-колебат. квантовое число, vкр - астота крутильного колебания (т.е. частота перехода; на рис. 1 показан стрелкой). Она связана с V0 приближенной ф-лой:1076-43.jpg , где Iпр = (I1I2)/(I1 +I2) - приведенный момент инерции (I1 и I2-моменты инерции групп атомов, вращающихся одна относительно другой). Более строгое решение приводит к появлению полносимметричного А и вырожденного ? подуровней, относящихся к данному значению v, причем расщепление, показанное на рис. 1 заштрихованными областями, отражает вращат. характер внутримол. движения. При больших V0 и малых v расщепление А-Е пренебрежимо мало, но по мере приближения к вершине барьера (увеличении v)это расщепление (или роль вращения) возрастает. Выше барьера расстояния между подуровнями А и Е с одним и тем же значением v становятся даже намного больше, чем между заштрихованными областями решений с разными v, т.е. полностью преобладает вращение. При V01076-44.jpgО квантовомех. задача решается так же, как для своб. ротатора:1076-45.jpg, где J - вращательное квантовое число.

При отсутствии осевой симметрии волчков, напр. в молекулах 1,2-дизамещенных этана, заторможенное внутреннее вращение приводит к явлению поворотной изомерии, представляющей собой частный случай конформационной изомерии (см. Конформационный анализ), когда устойчивым конформациям соответствуют разные по глубине минимумы потенциальной энергии, т. е. возникают различающиеся по форме и св-вам поворотные изомеры (конформеры). В частности, у молекул типа 1,2-дизамещенных этана имеются три стабильных конформации - одна транс- (или анти-)и две гош-конформации (см. рис. 2). Относит. стабильность поворотных изомеров определяется разностью их энергий1076-47.jpg, т.е. разностью значений энергии в минимумах потенциальной кривой. Напр., транс-изомер 1,2-дихлорэтана более устойчив, чем гош-изомер, т.к. его энергия (в газовой фазе) ниже на ~ 5,6 кДж/моль. При достаточно низких потенциальных барьерах (неск. десятков кДж/моль) поворотные изомеры находятся в термодинамич. равновесии, положение к-рого зависит от т-ры, давления и природы среды. Для барьеров порядка Ш кДж/моль время жизни конформеров составляет ~10-10с. При высоких значениях VQ (выше ~ 100 кДж/моль), когда внутреннее вращение отсутствует, конформеры даже при малой разности их энергий могут существовать как индивидуальные в-ва. Внутреннее вращение молекул возможно в газовой и жидкой фазах, параметры1076-48.jpg зависят от характера среды и электронного состояния молекулы. В кристаллах внутреннее вращение, как правило, отсутствует и стабилен лишь один конформер; иногда существуют твердые фазы (напр., у некоторых фреонов), в которых стабильны разные конформеры и между ними осуществляются переходы.
Потенциальная функция внутреннего вращения молекул

Рис. 2. Потенциальная функция внутреннего вращения молекул типа 1,2-дизамешенного этана. I-I''-поворотные изомеры (конформеры), или стабильные заторможенные конформации, II-II"-нестабильные заслоненные конформации.

Явления заторможенного внутреннего вращения и поворотной изомерии молекул оказывают влияние на термодинамич., электрич., оптич. и др. св-ва веществ. Внутреннее вращение необходимо учитывать при расчете термодинамич. ф-ций методами статистич. термодинамики. Напр., для CH3SH опытное значение энтропии 5^79 12 = 251,7 Дж/(моль*К), а расчетное (без учета внутреннего вращения) на 8,4 Дж/(моль*К) меньше. С др. стороны, если исходить из предположения о свободном внутреннем вращении, расчетная величина So279,12 превышает опытную на 2,0 Дж/(моль*К); следовательно, в молекуле CH3SH существует заторможенное внутреннее вращение вокруг связи С—S.

В случае поворотной изомерии св-ва в-ва Определяются как св-ва равновесной смеси изомеров и зависят от внеш. условий, влияющих на положение равновесия. Напр., эффективный дипольный момент1077-1.jpg зависит от т-ры. Если1077-2.jpg поворотных изомеров различны, как, напр., у транс- (1077-3.jpg = 0) и гош-1077-4.jpg конформеров 1,2-дихлорэтана, то при изменении т-ры значение измеряемого1077-5.jpgбудет приближаться к значению, характерному для изомера, концентрация к-рого будет при этом возрастать.В жидкой фазе и в среде полярных р-рителей повышается устойчивость более полярного гош-изомера в результате взаимод. молекул р-рителя и растворенного в-ва. Поворотные изомеры, имея разл. равновесные конфигурации, различаются своими колебат. и вращат. спектрами. При увеличении числа осей внутреннего вращения в молекуле возрастает и число ее возможных конформаций.

Представления, связанные с внутренним вращением и поворотной изомерией молекул, применяют в теории строения как низкомол., так и высокомол. соединений. Разработаны методы и схемы конформационных расчетов достаточно сложных молекулярных систем на основе мех. моделей, получили также развитие полуэмпирич. и неэмпирич. квантовомех. расчеты потенциальных ф-ций внутреннего вращения молекул. Для изучения явлений внутреннего вращения и поворотной изомерии молекул используют методы спектроскопии: ИК, комбинац. рассеяния, микроволновой, УФ, ЯМР, ЭПР, а также методы газовой электронографии, поглощения ультразвука, некогерентного, неупругого рассеяния нейтронов, измерения дипольных моментов, диэлектрич. потерь и др.

Литература

МидзусимаС, Строение молекул и внутреннее вращение, пер. с англ., М., 1957; Волькенштейн М.В., Конфигурационная статистика полимерных цепей, М.-Л., 1959; Пентин Ю. А., Вращательная изомерия молекул, М., 1969; Внутреннее вращение молекул, под ред. В.Дж. Орвилл-Томаса, пер. с англ., М., 1977. Ю.А. Пентин.