Горючесть

ГОРЮЧЕСТЬ (возгораемость), способность в-ва (материала) к распространению пламени или к тлению. В СССР по горючести в-ва делятся на горючие (после зажигания самостоятельно горят на воздухе), трудногорючие (гаснут после удаления источника зажигания), негорючие (не горят даже в зоне действия источника зажигания). В США и большинстве западноевропейских стран трудногорючие в-ва в отдельную группу не выделяют.

К горючим относится большинство орг. и нек-рые не-орг. (напр., S, Р) в-ва. Среди них выделяют легковоспламеняющиеся в-ва, к-рые загораются без предварит, подогрева при кратковрем. воздействии источника зажигания с низкой энергией (пламя, спички, искра, накаленный электропровод и др.). К легковоспламеняющимся относят все горючие газы, а также жидкости с т-рой вспышки не выше 61 °С. Легковоспламеняющиеся жидкости делят на особо опасные (т. всп. не более — 18°С, напр. ацетон, диэтиловый эфир, изопентан); постоянно опасные (т. всп. от — 17 до 23 °С, напр. этанол, бензол, этилацетат); опасные при повыш. т-ре (т. всп. от 24 до 61 °С, напр. хлорбензол, скипидар, сольвент). Для легковоспламеняющихся твердых материалов (напр., полистирол, целлулоид, сухая древесная стружка) характерна способность распространять горение по пов-сти при горизонтальном расположении материала.

Трудногорючими являются разб. водные р-ры горючих жидкостей, нек-рые галогенопроизводные углеводородов (напр., 1,1,3-трихлорпропен, тетрахлорпропан и др.), нек-рые полимерные материалы и т.д.

К негорючим относят мн. неорг. в-ва, напр. соли металлов, композиц. материалы на их основе, содержащие не более 5-8% (по массе) орг. связующего, и др.

Горючесть в-ва зависит от его агрегатного состояния и параметров состояния системы "в-во-окислитель" (в общем случае горючесть повышается с увеличением т-ры, давления и объема). Горючесть газовзвесей определяется, кроме того, размерами твердых частиц. Горючесть твердых в-в в значит. степени зависит от их плотности: монолитные материалы менее горючи, чем пористые или мелкораздробленные. Повышенной горючестью обладают в-ва, при термич. разложении к-рых выделяются летучие горючие компоненты. Горючесть изделий зависит от их формы, размеров и взаимного расположения отдельных элементов с различной горючестью.

При определении горючести газов считают, что горючими являются те газы, для к-рых существует область воспламенения, т.е. интервал концентраций, в пределах к-рого они способны воспламеняться от источника зажигания с послед. распространением самостоят. горения по смеси. Если при зажигании в сосуде смеси газа с окислителем пламя распространяется только на часть объема, газ считается трудногорючим. Горючесть газов экспериментально определяют по визуально наблюдаемому распространению пламени в стандартной стеклянной трубе диам. 50 мм и выс. 1500 мм при зажигании смеси искрой у открытого ниж. конца или в сосуде диам. 300 мм и выс. 800 мм.

Горючесть жидкостей определяют след. образом. Пробу помещают в тигельную печь, нагретую до 900 °С. Если в пяти параллельных опытах она в течение 3 мин не воспламеняется (или за меньшее время закипает без воспламенения), ее относят к негорючим. Если произошло воспламенение, пробу выносят из печи и оценивают время самостоят. горения; при продолжительности его менее 5 с жидкость считают трудногорючей. Если этот показатель более 5 с, находят т-ру воспламенения, т.е. т-ру жидкости, при к-рой образуются горючие пары или газы с такой скоростью, что после воспламенения их от источника зажигания возникает устойчивое горение. Если жидкость имеет т-ру воспламенения, ее относят к горючим, не имеет-к трудногорючим.

Т-ра, при к-рой газ или жидкость становятся горючими, м. б. рассчитана по ф-ле:
1118-18.jpg

где Сop-сумма теплоемкостей продуктов горения при 1100°С; Г0-начальная т-ра, °С; С°p-разность теплоемкостей продуктов горения и компонентов исходной смеси;1118-19.jpg-энтальпия сгорания. Горючесть твердых материалов в разных странах определяют разл. эксперим. методами. Общепринят только метод с использованием трубчатой электропечи. В СССР помимо последней применяют приборы "керамич. труба" и "огневая труба".
1118-20.jpg

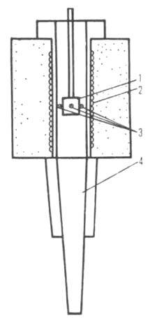
Схема трубчатой электропечи: 1-образец; 2-нагревательные элементы; 3-рабочие спаи термопар; 4 -стабилизатор воздушного потока.

При испытании на негорючесть трубчатую электропечь (см. рис.) нагревают до 800-850°С и помещают в нее на 20 мин пробу. Материал относят к негорючим, если пламенное горение продолжалось не более 10 с, потеря массы не превысила 50%, т-ра в печи и образце не превысила более чем на 50°С первоначально установленную.

Для определения степени горючести материалов используют "керамич. трубу". Осн. часть прибора-камера горения (керамич. короб), в к-рой на образец воздействуют пламенем газовой горелки. По т-ре продуктов сгорания находят т. наз. коэф. горючести К, т.е. отношение кол-ва тепла, выделившегося при горении образца определенной массы, к кол-ву тепла, поступающего к образцу от источника зажигания. При К1118-21.jpg 1 в-ва относят к горючим, при К < <1-к трудногорючим. Коэф. К для твердых материалов изменяется в широких пределах. Для пластмасс он зависит от хим. строения полимера, кол-ва и вида введенных антипиренов, пластификаторов и наполнителей. Напр., огнезащитные пенофенопласты имеют К = 0,35-2,4, пенополиуретаны-от 1,3 до 2,6, пенополистиролы-более 2,0.

В приборе "огневая труба" (вертикальная металлич. трубка) образец зажигают пламенем газовой горелки. Если самостоят. горение или тление образца продолжается более 60 с и потеря массы превышает 20%, материал относят к негорючим.

Литература

Пожарная опасность веществ и материалов, применяемых в химической промышленности. Справочник, под ред. И.В.Рябова, М., 1970; Бара-то в А. Н., "Хим. пром-сть", 1970, № 10, с. 742-46; Монахов В. Т., Методы исследования пожарной опасности веществ, 2 изд., М., 1979. А. Я. Корольченко.