Сушка
Сушка, высушивание, удаление жидкости (обычно влаги) из твёрдых, жидких и газообразных тел. При сушке удаляется, как правило, влага, связанная с материалом физико-химически (адсорбционно и осмотически) и механически (влага макро и микрокапилляров); химически связанная влага не может быть удалена путём сушки. Цель сушки — сохранение физико-химических свойств материалов, обеспечение во многих случаях сохранности материалов на продолжит. период, а также исключение перевозки балласта. В технике наиболее распространена сушка влажных твёрдых материалов при их подготовке к переработке, использованию или хранению. Сушка этих материалов — процесс, сопровождающийся тепло и массообменом между сушильным агентом (воздух, топочные газы и др.) и влагой высушиваемого материала. Давление паров жидкости на поверхности твёрдого материала с повышением температуры возрастает и пары диффундируют в поток сушильного агента. Возникающий при этом градиент концентрации влаги в материале заставляет её перемещаться из глубинных слоев к поверхности со скоростью, зависящей от характера связи влаги с материалом. При естественной сушке в отсутствие принудительного движения сушильного агента (свободное испарение) процесс идёт медленно; он ускоряется при обтекании высушиваемого материала потоком подогретого сушильного агента, то есть при искусственной сушке. Ниже рассматривается сушка только искусственная с применением различного типа сушилок.
Выбор условий сушки (температура, давление, скорость движения сушильного агента и др.) зависит от физико-химических свойств высушиваемого материала: склонности к сокращению в объёме (дерево), образованию плотной корки на поверхности (некоторые соли), повышению хрупкости, термостойкости (бумага) и др.
По способу подвода тепла сушилки бывают: конвективные (высушиваемый материал омывается потоком предварительно нагретого сушильного агента); контактные (непосредственный контакт высушиваемого материала с нагреваемой поверхностью); сублимационные (удаление влаги в замороженном состоянии под вакуумом); высокочастотные (удаление влаги под воздействием электрического поля высокой частоты); радиационные (высушивание под действием инфракрасного излучения).
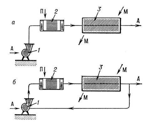
Широкое промышленное применение получили конвективные сушилки различных конструкций (камерные, барабанные, пневматические, с кипящим слоем, распылительные и пр.). В основном варианте конвективной сушилки (рис. 1, а) сушильный агент, предварительно нагретый в калорифере до максимально допустимой температуры, движется в сушилке, непосредственно соприкасаясь с высушиваемым материалом (пищевыми продуктами, медицинскими препаратами, химическими соединениями и др.). 0тличительная особенность этого варианта — однократный нагрев и однократное использование сушильного агента.
При сушке термически нестойких материалов (например, полиэтилена) сушильный агент только частично нагревается в основном калорифере и вводится в сушильную камеру при допустимой для высушиваемого материала температуре. Остальное необходимое для сушки тепло агент получает в дополнительных калориферах, установленных в сушильной камере.
Для сушки некоторых материалов (древесины, заформованных керамических изделий и пр.) часто применяются сушилки с возвратом (рециркуляцией) части отработанного воздуха (рис. 1, б). Этим достигается уменьшение перепадов температуры и влагосодержания воздуха на входе и выходе из сушилки и более равномерная сушка. Для сушки огне- и взрывоопасных материалов или при удалении из высушиваемого материала ценных продуктов (спирты, эфиры и пр.) применяются сушилки с замкнутой циркуляцией потока инертных газов или воздуха. В зависимости от назначения используются сушилки различных конструкций.
Барабанные — для сушки мелкокусковых и сыпучих материалов (азотные удобрения, серный колчедан, хлорид калия, а также зерно, см. Зерновая сушилка) (рис. 2) — представляют собой цилиндр с внутренней насадкой для пересыпания и перемешивания материала с целью улучшения его контакта с сушильным агентом. Барабан устанавливается либо горизонтально, опираясь бандажами на опорные ролики, либо с небольшим наклоном (0,5—3°). Диаметр барабана может иметь 3500 мм, а длина его равна 3,5—7 диаметрам. Барабан медленно вращается (0,5—8 об/мин).
Пневматические — для сушки зернистых материалов (угля, адипиновой кислоты и др.) потоком горячего сушильного агента (рис. 3) — представляют собой одну или несколько последовательно соединённых вертикальных труб. Высушиваемый материал перемещается по этим трубам потоком сушильного агента, скорость которого превышает скорость витания наиболее крупных кусков (обычно 10—40 м/сек). Вследствие кратковременности контакта (1—5 сек) эта сушилка пригодна для термически нестойких материалов даже при высокой температуре сушильного агента.
В сушилке с кипящим (псевдосжиженным) слоем достигается интенсивное перемешивание материала, ускоренный тепло и массообмен, благодаря чему сушильный агент можно использовать при повышенных температурах. Сочетая простоту устройства с высокой удельной производительностью и лёгкостью автоматизации, эти сушилки нашли широкое применение в химической промышленности, цветной металлургии (подробнее см. Кипящий слой и Кипящего слоя печь).
Распылительные — для сушка жидких веществ повышенной вязкости (молоко, кровь, альбумин и др.), распыляемых в поток горячего сушильного агента (рис. 5). Благодаря большой удельной поверхности распыленного материала процесс испарения влаги происходит интенсивно, время сушки мало (15—30 сек). При весьма быстрой сушке температура поверхности частиц, даже при высокой температуре сушильного агента, близка к температуре адиабатического испарения чистой жидкости. Высушиваемый материал (в виде эмульсий, суспензий, растворов) распыляется механическими или пневматическими форсунками. Сушилки снабжаются аппаратами для улавливания уносимых частиц высушиваемого материала.
Ленточные — для сыпучих и волокнистых материалов (искусственные волокна и др. полимеров); высушиваемый материал движется по бесконечной ленте (или на нескольких последовательно расположенных лентах), натянутой между ведущим и ведомым барабанами (рис. 4). Сушка осуществляется горячим воздухом или топочными газами, движущимися вдоль лент или в перекрёстном токе.
Контактные (например, вальцовые) — для сушки жидких и пастообразных материалов (ксантогенаты щелочных металлов и др.) под атмосферным давлением или вакуумом. Используются одно- или двухвальцовые сушилки; основной частью этих сушилок являются медленно вращающиеся (2—10 об/мин) вальцы, в которые через полую цапфу поступает греющий пар и от них отводится конденсат. Высушиваемый материал поступает на вальцы, налипает на их поверхности тонким слоем (1— 2 мм), высушивается и срезается ножом. На рис. 6 показаны одновальцовая и двухвальцовая вакуум-сушилки.
Сублимационные (см. Лиофилизация и Консервирование) — для сушки пищевых продуктов и медицинских препаратов (антибиотиков, плазмы крови и др.) с сохранением основных биологических качеств материала. В этих сушилках влага удаляется в замороженном состоянии под вакуумом (остаточное давление 6,65—332,5 Н/м2 или 0,05—2,5 мм рт. ст.) при температуре около 0 °С.
В камере испаряется основная часть влаги (60—85% от общего содержания), остальная влага удаляется тепловой вакуум-сушкой (при температуре 30—45 °С). Теплота, необходимая для сушки, подводится к материалу от нагретых поверхностей или радиацией от нагретых экранов. При сублимационной сушке отсутствует окислительное действие кислорода воздуха, не изменяются размеры продукта, что позволяет получать продукты высокого качества, приближающиеся по органолептическим показателям и содержанию витаминов, пахучих и других веществ к свежим.
Высокочастотные — главным образом для сушки материалов, обладающих большим сопротивлением внутреннему перемещению влаги (карандаши, тонкие литейные формы). В этих сушилках токами ВЧ, создаваемыми специальными генераторами, высушиваемый материал прогревается по всей толщине, что ускоряет процесс сушки. Возможно регулирование температуры и влажности по всему объёму материала. Под действием высокочастотного электрического поля ионы и электроны в материале меняют направление движения синхронно с изменением знака заряда пластин конденсатора, дипольные молекулы приобретают вращательное движение, а неполярные молекулы поляризуются за счёт смещения их заряда. Эти процессы, сопровождаемые внутренним трением, приводят к тепловыделению и нагреванию высушиваемого материала. Сушка применима для пластмасс, резиновых изделий и др. материалов, обладающих диэлектрическими свойствами.
Сушку твёрдых материалов широко применяют в химической, пищевой, бумажной, деревоотделочной, строительных материалов, кожевенной, текстильной и других отраслях промышленности. В литейном производстве сушка используется для упрочнения литейных форм и стержней и придания им необходимых физико-механических свойств, а также удаления избытка влаги из красок и натирок, наносимых на их поверхность. Сушку жидкостей производят осушающими веществами, не взаимодействующими с осушаемыми жидкостями (фосфорный ангидрид, концентрированная серная кислота, безводный хлорид кальция и др.), связывающими воду.
Сушку газов (воздуха, топочных газов) производят преимущественно абсорбционным и адсорбционным методами. Абсорбционный способ (см. Абсорбция) основан на поглощении (растворении) влаги из газов жидкими растворителями (абсорбентами), химически не взаимодействующими с высушиваемым газом. Абсорбентами служат главным образом растворы диэтиленгликоля, триэтиленгликоля, глицерина, хлорида кальция, едких щелочей и др. (применение хлорида кальция ограничено вследствие коррозионного воздействия на аппаратуру). Технологические схемы сушки газов абсорбционным способом включают абсорберы, десорберы, а также разнообразные теплообменные аппараты и насосы для перекачки растворов.
Адсорбционные способы (см. Адсорбция) основаны на поглощении влаги из газов твёрдыми веществами с высокой пористостью — адсорбентами: бокситами, алюмогелем, силикагелем, искусственными цеолитами (молекулярные сита). Эти адсорбенты легко регенерируются и поглощают практически от 3 до 12% влаги (по массе). Адсорбционные установки для сушки газов включают заполненные сорбентом адсорберы и теплообменную аппаратуру (подогреватели и холодильники). Десорбция влаги (регенерация) производится путём продувки слоя насыщенного адсорбента потоком горячего газа или перегретого водяного пара.
Применяют также способы сушки газов, основанные на конденсации или вымораживании влаги при понижении температуры; они осуществляются в попеременно работающих теплообменниках, где газ охлаждается водой или низкотемпературным хладоагентом (в последнем случае содержащаяся в газах влага выпадает в виде снега или инея). На сушку газов путём охлаждения благоприятно влияет повышение давления.
Для сушки газов иногда используют их контакт с твёрдыми гигроскопическими веществами (в частности, едким кали или едким натром); высушиваемые газы пропускают через аппараты, заполненные поглотителем. Сушке газов часто предшествует их фракционированию методами ректификации или парциальной конденсации (см. Газов разделение), транспортировке горючих газов по трубопроводам и др.
Лит.: Лыков М. В., Сушка в химической промышленности, М., 1970: Кришер О., Научные основы техники сушки, пер. с нем., М., 1961; Лыков А. В., Теория сушки, 2 изд., М., 1968; Романков П. Г., Рашковская Н. Б., Сушка во взвешенном состоянии, 2 изд., Л., 1968: Касаткин А. Г., Основные процессы и аппараты химической технологии, 9 изд., М., 1973; Герш С. Я., Глубокое охлаждение, 3 изд.. ч. 1—2, М.— Л., 1957— 1960; Гуйго Э. И., Журавская Н. К., Каухчешвили Э. И., Сублимационная сушка в пищевой промышленности, 2 изд., М., 1972.
В. Л. Пебалк.

Рис. 4. Ленточная сушилка: 1 — камера сушки; 2 — бесконечная лента; 3 — ведущие барабаны; 4 — ведомые барабаны; 5 — калорифер; 6 — питатель; 7 — опорные ролики.

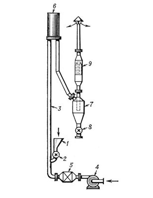
Рис. 3. Пневматическая сушилка: 1 — бункер; 2 — питатель; 3 — труба; 4 — вентилятор; 5 — калорифер; 6 — сборник-амортизатор; 7 — циклон; 8 — разгрузочное устройство; 9 — фильтр.

Рис. 5. Распылительная сушилка: 1 — камера сушки; 2 — форсунка; 3 — шнек для выгрузки высушенного материала; 4 — циклон; 5 — рукавный фильтр; 6 — вентилятор; 7 — калорифер.

Рис. 2. Барабанная сушилка прямого действия: 1 — циклон; 2 — вентилятор; 3 — разгрузочная камера; 4 — шнек; 5 — бандажи; 6 — опорные ролики; 7 — привод; 8 — зубчатый венец; 9 — винтовые лопасти; 10 — внутренняя насадка; 11 — барабан; 12 — питатель.

Рис. 6. Вакуум-сушилки: а — одновальцовая; б — двухвальцовая; 1 — полый барабан (валец); 2 — корпус; 3 — корыто; 4 — распределительный валик; 5 — нож; 6 — шнек; 7 — приёмный колпак; 8 — сборник; 9 — вальцы; 10 — наклонные стенки.

Рис. 1. Схема конвективных сушилок: а — основной вариант; б — с рециркуляцией части отработанного воздуха; А — сушильный агент; П — греющий пар; М — высушиваемый материал; 1 — вентилятор; 2 — калорифер; 3 — сушильная камера.