Сушка
СУШКА, удаление жидкости (чаще всего влаги-воды, реже иных жидкостей, напр. летучих орг. р-рителей) из в-в и материалов тепловыми способами. Осуществляется путем испарения жидкости и отвода образовавшихся паров при подводе к высушиваемому материалу теплоты, чаще всего с помощью т. наз. сушильных агентов (нагретый воздух, топочные газы и их смеси с воздухом, инертные газы, перегретый пар). Сушке подвергают влажные тела: твердые-коллоидные, зернистые, порошкообразные, кусковые, гранулированные, листовые, тканые и др. (эта группа высушиваемых материалов наиб. распространена); пастообразные; жидкие-суспензии, эмульсии, р-ры; о сушке газов и газовых смесей см. Газов осушка.
Цель сушки, широко применяемой в произ-вах химико-лесного комплекса, с. х-ве, пищевой, строит. материалов, кожевенной, легкой и др. отраслях народного хозяйства,-улучшение качества в-в и материалов, подготовка их к переработке, использованию, транспортированию и хранению. Данный процесс часто является последней технол. операцией, предшествующей выпуску готового продукта. При этом жидкость предварительно удаляют более дешевыми мех. способами, окончательно-тепловыми.
Естественную сушку на открытом воздухе из-за значит. продолжительности используют крайне редко и гл. обр. в районах с теплым климатом. В хим. произ-вах применяют, как правило, искусственную сушку, проводимую в спец. сушильных установках, в состав к-рых входят: сушильный аппарат, или сушилка, где непосредственно протекает процесс; вспомогат. оборудование-теплообменные аппараты (калориферы), тяго-дутьевое устройство (вентилятор, воздуходувка) и система пылеочистки (см. Пылеулавливание) соотв. для нагревания сушильного агента, пропускания его через сушилку и отделения от высушенного продукта.
По способу подвода теплоты к влажному телу различают след. виды сушки: конвективную (в потоке нагретого сушильного агента, выполняющего одновременно ф-ции теплоносителя и влагоносителя- транспортирующей среды, в к-рую переходит удаляемая влага, и в ряде случаев способствующего созданию необходимой гидродинамич. обстановки); контактную (при соприкосновении тела с нагретой пов-стью); диэлектрическую (токами высокой частоты); сублимационную (вымораживанием в вакууме; см. также Сублимация); радиационную (ИК излучением); акустическую (с помощью ультразвука). В народном хозяйстве используют преим. первые два вида, в хим. произ-вах-конвективную. Остальные виды применяют весьма редко и наз. обычно специальными видами сушки.
При любом виде сушки ее влажный объект находится в контакте с влажным газом (в осн. с воздухом). Поэтому знание их параметров необходимо при описании процессов сушки и их расчетах. Осн. параметры: влажного тела-влагосодержание и (отношение массы влаги к массе абс. сухой части); влажного газа-т-ра t, влагосодержание x (отношение массы паров к массе абс. сухой части), относит. влажность f (отношение массы пара в данном объеме к массе насыщ. пара в том же объеме при одинаковых условиях), уд. энтальпия I, равная сумме уд. энтальпий абс. сухой части и паров (см. также Влажность), росы точка, т-ра мокрого термометра (т-ра адиабатич. насыщения).
Статика сушки. Под cтатикой сушки обычно понимают, состояние термо-динамич. равновесия в системе влажное тело-газ, а также материальный и тепловой балансы сушилок в установившемся режиме работы. Исследования указанного, равновесия важны для определения форм связи влаги с материалом и его внутр. структуры, а также движущей силы сушки.
Формы связи влаги с материалом в значит. степени определяют механизм и скорость сушки: чем эта связь прочнее, тем труднее протекает процесс. При сушке связь влаги с материалом нарушается. Различают след. формы связи (в порядке убывания ее энергии): химическую, физико-химическую, механическую.
Химически связанная влага (гидратная, или кристаллизационная, влага комплексных соединений) соединена с материалом наиб. прочно и при сушке обычно удаляется частично или вообще не удаляется.
Физ.-хим. связь объединяет адсорбционную и осмотическую влагу (напр., в Коллоидных и полимерных материалах). Адсорбционно связанная влага прочно удерживается силами межмол. взаимод. на пов-сти пор материала в виде монослоя или неск. слоев (см. Адсорбция). Осмотически связанная влага находится внутри и между клеток материала и менее прочно удерживается осмотич. силами (см. Осмос). Влага этих видов связи с трудом удаляется при сушке.
Механическая, или капиллярно связанная, влага подразделяется на влагу макрокапилляров (радиус более 10-7 мм) и микрокапилляров (менее 10-7 мм). Влага макрокапилляров наим. прочно связана с материалом и м. б. удалена не только при сушке, но и механически.
Применительно к сушке влагу классифицируют в более широком смысле на свободную (легко удаляемую) и связанную (адсорбционную, осмотич., микрокапилляров). Скорость испарения свободной влаги из материала равна скорости испарения воды со своб. пов-сти жидкости. Связанная влага испаряется из материала с меньшей скоростью, чем с пов-сти воды. Расчет сушилок необходимо проводить с учетом энергии связи влаги с материалом. Суммарный расход теплоты на сушку:

где Qисп- теплота парообразования, расходуемая на испарение своб. влаги; Qсв- теплота, расходуемая на преодоление связи влаги с материалом.
Изотермы сорбции-десорбция. Их изучение-один из наиб. распространенных методов исследования термодинамич. равновесия в системе влажное тело-газ. Эти изотермы зависят от формы связи влаги с материалом, его структуры и св-в. В состоянии равновесия при t = const определенному значению относит. влажности воздуха fp соответствует вполне определенное равновесное влагосодержание материала uр. Изотермы сорбции и десорбции представляют собой зависимости uр =f(fp).
Линии постоянных т-р (t = const) вместе с линиями постоянных влагосодержания (х = const), относит. влажности (f = const) и энтальпии (I = const) влажного воздуха наносят на психрометрия, диаграмму I — x (см. Газов увлажнение), с помощью к-рой обычно изучают сушку и связанные с ней нагревание, охлаждение, увлажнение и смешение воздуха разных параметров.
Варианты конвективной сушки и их изображение на I-x-диаграмме. При определенном сочетании параметров сушильного агента (t и f) и скорости его движения относительно материала достигается соответствующий режим сушки. Кроме этих факторов на него влияет также давление, если оно значительно отклоняется от атмосферного (вакуум-сушка). Для обеспечения заданных режимов сушки чаще всего используют след. ее варианты: 1) основной, или нормальный,-сушильный агент однократно нагревается в калорифере до требуемой т-ры и поступает в сушилку, из к-рой выбрасывается в атмосферу; 2) с рециркуляцией отработанного сушильного агента-часть его из сушилки возвращается в калорифер (на его вход или выход), где смешивается со свежим воздухом; 3) с промежуточным подогревом сушильного агента в неск. калориферах; сначала он нагревается в первом калорифере, затем контактирует с высушиваемым материалом в первой части сушилки, снова нагревается во втором калорифере, соприкасается с материалом во второй части сушилки и т.д.; 4) с ретуром сухого продукта-часть его возвращается в сушилку для досушки, а также для придания влажному материалу на входе в аппарат необходимой сыпучести.
Осн. вариант сушки изображен на рис. 1,а: точки А, В и С соответствуют состоянию воздуха перед калорифером, за ним и на выходе из сушилки; вертикальный отрезок АВ (х = x0) отвечает нагреву воздуха в калорифере, линия ВС- процессу сушки. Вариант с рециркуляцией части сушильного агента изображен на рис. 1,5; линия AM соответствует смешению перед калорифером атмосферного и части отработанного воздуха (рецикла), вертикальный отрезок МB-нагреву воздуха в калорифере, линия ВС-процессу сушки. На этом рис. процессу сушки в основном варианте (без рецикла) отвечает линия AB'C. По сравнению с ним вариант с рециклом отличают большее влагосодержание воздуха, менее высокие температура (режим сушки мягче) и расход энергии на нагрев воздуха.
Материальный и тепловой балансы позволяют находить параметры, необходимые для расчета сушилок. Материальный баланс составляют как по всему кол-ву материала, так и по одному из компонентов сушки-массе абсолютно сухого в-ва или массе влаги, содержащейся в высушиваемом материале; в результате определяют расход сушильного агента и кол-во испаренной влаги.
Тепловой баланс. Согласно закону сохранения энергии, приход в к.-л. сушилку теплоты равен ее расходу. В случае конвективной сушки теплота вносится в сушилку с нагретым в калорифере (топке) сушильным агентом, влажным материалом, находящейся в нем жидкостью и транспортными устройствами (вагонетки и др.); удаляется теплота с отработанным теплоносителем, высушенным материалом и транспортными устройствами; часть теплоты безвозвратно теряется в окружающую среду; из этого баланса находят общий расход теплоты на сушку. В случае контактной сушки из теплового баланса находят расход водяного пара, теплота ик-рого затрачивается на нагрев высушиваемого материала, испарение жидкости и компенсацию потерь теплоты.

Рис. 1. Изображение на I-х-диаграмме вариантов сушки: а-основного; б- с рециркуляцией сушильного агента (хнас, xсм-влагосодержания насыщ. воздуха в смеси свежего воздуха с частью отработанного).
Тесло- и массоперенос при сушке. Закономерности сушки определяются совместным влиянием одновременно протекающих тепло- и массопереноса. В соответствии с их ур-ниями в ходе сушки система влажное тело-газ стремится к фазовому равновесию, при к-ром наблюдается равенство хим. потенциалов жидкости и ее пара.
По достижении указанного равновесия сушка прекращается. Следовательно, сушка-существенно неравновесный процесс, движущей силой к-рого является разность хим. потенциалов. Последние определяются через градиенты параметров материальных потоков, участвующих в сушке. Напр., при конвективной сушке движущую силу можно выразить разностью: парциальных давлений Dp=pм—pп (рм-давление паров влаги у пов-сти материала, рп- парциальное давление водяных паров в воздухе); влагосодержаний Dx = хнас — x (хнас-влагосодержание воздуха, насыщ. водяными парами вблизи пов-сти материала, x-влагосодержание ненасыщ. воздуха); т-р Dq = qс — qМ (qс-т-ра среды, окружающей материал, qм-т-ра пов-сти влажного материала, принимаемая равной т-ре мокрого термометра) и т.д. Поскольку на входе в сушилку и выходе из нее значения Dp, Dx и Dq будут различны, в расчетах используют среднюю движущую силу сушки.
Различают обычно внеш. и внутр. перенос влаги и теплоты. Внеш. перенос (тепло- и массообмен) происходит между влажным телом и сушильным агентом и характеризуется коэф. тепло- и массоотдачи, для к-рых известны многочисл. эмпирич. корреляции; внутр. перенос-движение влаги во внутр. слоях материала.
Динамика сушки. Для описания внутр. тепло- и массопереноса во влажном теле нужно рассматривать нестационарные поля т-р и влагосодержаний, т. е. зависимости q = q (c, т) и и=и(x, т), где х-радиус-вектор точки пространства (в любой точке рабочего пространства сушильной камеры влагосодержание x изменяется как во времени т, так и с изменением местоположения рассматриваемой точки). Такие поля находят решением на ЭВМ сложной системы фено-менологич. ур-ний с кинетич. коэффициентами, или коэф. переноса Кik (см. также Переноса процессы):

где K11 = D-коэф. диффузии; K12 = Dd (d-термоградиентный коэф., характеризующий степень влияния т-ры на поток влаги в высушиваемом теле); К13 = Кф.п./rт(Кф.п. -коэф. фильтрац. переноса влаги, отражающий степень влияния давления на поток влаги в материале, rт-его плотность); К21 = QиспED/Cвл [Е-критерий фазового превращения, определяемый отношением потока пара во влажном теле к суммарному потоку влаги в виде жидкости и пара (О
E
1; если перемещаемая влага-жидкость, Е = 0, если-пар, то Е= 1); С -уд. теплоемкость влажного материала]; К22 = а -коэф. температуропроводности; К23 = = EQиспD-1 x K'ф.п. /Свл (К'ф.п. -относит. коэф. фильтрац. переноса влаги, характеризующий влияние давления на поток теплоты в теле через поток влаги); K31 = — ED/Ce (Се-коэф. тепло- или массоемкости влажного газа в пористом теле); К32 = -ED/Ce; К33 = Кф.п./Сеrт - EDKф.п./Ce.
Рис. 2. Кривые кинетики: а-кривые сушки
(т) и нагрева влажного материала
(т); б-кривые скорости сушки для материалов тонколистовых пористых (1), коллоидных (2), капиллярно-пористых (3), керамических (4), нек-рых полимерных (5).
Система (8) справедлива при постоянстве коэф. переноса, т.е. лишь для отдельных зон сушильного аппарата.
Кинетика сушки отражает изменения во времени средних по объему высушиваемого материала его влагосодержания
и т-ры
. Знание кинетики сушки позволяет рассчитать время тс сушки материала от начального (uн) до конечного (uк) влагосо-держаний. На рис. 2, а изображены кривая
наз. кривой сушки, и кривая нагрева тела
Поскольку при сушке влагосодержакие в каждой точке влажного материала стремится к равновесному uр, кривая u(т) стремится к горизонтальной асимптоте
. Что касается кривой нагрева материала, то т-ра всех его точек чаще всего в начальный момент одинакова и равна qн; если т-ра среды равна qс, то именно к этому равновесному значению стремится т-ра
. Поэтому
В общем случае кривая сушки состоит из неск. участков, соответствующих разл. периодам процесса: кривая АВ-периоду прогрева материала, кривая ВС- периоду постоянной скорости (I период продолжительностью тI), кривая CD-периоду падающей скорости (II период продолжительностью тII). В период прогрева теплота, подводимая к материалу, расходуется на его нагрев от нач. т-ры qн до т-ры мокрого термометра q , а также на испарение влаги; в этот период скорость сушки обычно возрастает от куля до постоянной ее скорости N в I период; продолжительность периода прогрева, как правило, незначительна по сравнению с др. периодами.
При q = qм.т. I период описывается ур-нием
(знак минус указывает на уменьшение u) или после дифференцирования:

где
-начальное значение u при т = 0 (
-конечное значение
в период прогрева; если он мал, то
). Выражению (9) соответствует время сушки в I период;

где uкр -критич. влагосодержание в конце этого периода. Скорость сушки в данный период определяется скоростью подвода теплоты к материалу:

где a-коэф. теплоотдачи от сушильного агента к материалу; fуд = F/Gс.м.; F-межфазная пов-сть; Gс.м.-масса сухого материала.
Физически I период заканчивается при удалении из материала своб. влаги (и = икр); во II периоде начинается удаление связанной влаги. Для расчета uкр используют ряд корреляций, однако на практике его определяют экспериментально.
Скорость сушки во II периоде часто аппроксимируют ур-нием, учитывающим приближение
к ир:

где Кс-коэффициент сушки, зависящий от ее режима и св-в материала. Этот параметр часто представляют в виде: Кc = xN, где x-относит. коэффициент сушки, определяемый гл. обр. св-вами материала. Ур-нию (12) соответствует выражение для времени сушки материала во II периоде при изменении влагосодержания от uр до uк:

Процесс сушки (особенно во II периоде) удобно изображать в координатах {[du/dт], u} (рис. 2,б). В них зависимость (12) изображается прямой линией. Для ряда материалов кинетика сушки в этих координатах имеет более сложный вид.
При пренебрежении продолжительностью периода про-грева влажного материала необходимое время его сушки определится равенством:

В последнее время разработан новый метод расчета сушки. Было экспериментально установлено, что для одного и того же материала при разных режимах сушки и одинаковом uн величина Nт определяется лишь текущим влагосодержанием
. Поэтому в координатах
кривая сушки не зависит от ее режима. Т. обр., если опытным путем построить такую кривую, наз. обобщенной кривой сушки, для одного режима, можно, зная N [из ур-ния (11)], построить соответствующие кривые для др. режимов. Выведено единое кинетическое уравнение для описания сразу всех периодов сушки:

где М-масса материала, приходящаяся на единицу его пов-сти; Коб, А, В -параметры кривой, причем А = ирА + DA и В = иpB + DВ; и А и ирВ-начальная (соответствует f = 1 при неизменных условиях сушки) и конечная равновесные влажности материала; DА и DВ-поправки, определяемые кинетикой сушки. Параметр Коб по аналогии с аппроксимацией (12) можно представить в виде: Коб = x'N', где коэф. x' зависит только от св-в материала, а N'-модуль скорости сушки в точке перегиба кривой сушки, т.е. макс. скорость процесса, к-рая определяется в осн. его режимом. Предполагая, что в момент макс. скорости сушки вся теплота, подводимая к материалу, расходуется на испарение влаги, по аналогии с выражением (11) находят ур-ние: N' = [afуд(qс - qм)]/Qисп. Согласно равенству (15), необходимое время сушки определяется выражением:

Промышленные сушилки В соответствии с многообразием высушиваемых материалов, их св-в и условий обработки конструкции сушилок также очень разнообразны и отличаются: по способу подвода теплоты (конвективные, контактные, специальные); по виду сушильного агента (воздушные, газовые, паровые); по давлению в сушильной камере (атмосферные, вакуумные); по способу организации процесса (периодич. или непрерывного действия); по взаимному направлению движения высушиваемого материала и сушильного агента (в конвективных аппаратах-прямоток, противоток, перекрестный ток); по состоянию слоя влажного материала в аппарате (с неподвижным, движущимся или взвешенным слоем). Ниже рассмотрены применяемые в химических производствах сушилки, к-рые объединены по способу подвода теплоты.
Конвективные сушилки. Необходимая для сушки теплота обычно доставляется нагретым воздухом, топочными газами либо их смесью с воздухом. Если не допускается соприкосновение высушиваемого материала с кислородом воздуха или если пары удаляемой влаги огнеопасны, сушильными агентами служат инертные газы (азот, СО2 и др.) либо перегретый водяной пар. В простейшем случае сушильный процесс осуществляется т. обр., что сушильный агент, нагретый до т-ры, предельно допустимой для высушиваемого материала, однократно используется в аппарате. Для термолабильных материалов (напр., полиэтилена) сушильный агент только частично подогревается в осн. калорифере, а остальную теплоту получает в дополнит. калориферах, установленных в сушильной камере. В случае материалов, сушка к-рых требует (для предотвращения усадки) повыш. влагосодержания теплоносителя и невысоких т-р (напр., древесина, формованные керамич. изделия), применяют сушилки с рециркуляцией части отработанного воздуха, а также сушилки с промежуточным его подогревом между отдельными зонами и одновременной рециркуляцией. Для сушки огне- и взрывоопасных материалов или при удалении из высушиваемых материалов ценных продуктов (углеводороды, спирты, эфиры и др.) используют сушилки с замкнутой циркуляцией потока инертных газов либо воздуха.
Камерные сушилки. В них высушиваемый материал находится неподвижно на полках, установленных в одной или неск. сушильных камерах. Засасываемый вентилятором и нагретый в калориферах воздух проходит между полками над материалом. Сушилки работают периодически при атм. давлении и применяются в малотоннажных производствах для материалов с невысокой температурой сушки (напр., красители).
Туннельные сушилки (рис. 3)-камерные сушилки непрерывного действия. Представляют собой длинные (типа коридора) камеры, внутри к-рых по рельсам перемещаются тележки (вагонетки) с лежащим на лотках или противнях высушиваемым материалом. Нагретый воздух обтекает лотки прямо- или противотоком; возможна рециркуляция воздуха. Эти сушилки используют для сушки кирпича, керамич. изделий, окрашенных и лакированных металлич. пов-стей, пищ. продуктов и т.п.

Рис. 3. Туннельная сушилка: 1-камера (коридор); 2-вагонетки; 3-вентиляторы; 4-калориферы.
Ленточные сушилки (рис. 4) обычно выполняют в виде многоярусного ленточного транспортера, по к-рому в камере, действующей при атм. давлении, непрерывно перемещается материал, постепенно пересыпаясь с верх. ленты на нижележащие (скорость каждой ленты 0,1-1 м/мин). Сушильный агент может двигаться со скоростью не более 1,5 м/с прямо- или противотоком, а также сквозь слой материала при наличии перфорир. ленты. Эти сушилки компактнее, чем камерные и туннельные, и отличаются большей интенсивностью сушки, однако также сложны в обслуживании из-за необходимости ручного труда, перекосов и растяжений лент. Область применения-сушка зернистых, гранулир., крупнодисперсных и волокнистых материалов; непригодны для сушки тонкодисперсных пылящих материалов. Для сушки последних используют ленточные сушилки с формующими питателями, напр. рифлеными вальцами (вальце-ленточные сушилки).

Рис. 4. Ленточная сушилка: 1-камера; 2, 6-загрузочный и разгрузочный бункеры; 3 - ленточный транспортер; 4 - калорифер; 5- вентилятор.
Для обезвоживания пастообразных и листовых (напр., бумаги) материалов иногда служат непрерывно действующие при атм. давлении петлевые сушилки (рис. 5)-разновидность ленточных сушилок. Влажный материал с помощью питателя подается на бесконечную сетчатую ленту, вдавливается в ее ячейки, проходя через обогреваемые паром валки, после чего поступает в сушильную камеру, где движущаяся сетка образует ряд петель. Посредством автоматич. ударного устройства высушенный материал сбрасывается в разгрузочный шнек. Горячий сушильный агент движется поперек ленты. Такие сушилки обычно работают с промежуточным подогревом воздуха, частичной рециркуляцией его по зонам и обеспечивают большую скорость сушки по сравнению с камерными сушилками, но конструктивно сложны и требуют значит. эксплуатац. расходов.

Рис. 5. Петлевая сушилка: 1-питатель; 2-лента; 3-валки; 4-автоматич. ударное устройство; 5-разгрузочный шнек; 6-вентиляторы.
Барабанные сушилки (рис. 6) распространены благодаря высокой производительности, простоте конструкции и возможности непрерывно сушить при атм. давлении мелкокусковые и сыпучие материалы (колчедан, уголь, фосфориты, минер. соли и др.). Такая сушилка представляет собой установленный с небольшим наклоном к горизонту (угол a до 4°) цилиндрич. барабан с бандажами. Последние при вращении барабана (с помощью зубчатого колеса от электропривода) с частотой 5-6 мин:1 катятся по опорным роликам; осевое смещение барабана предотвращается опорно-упорными роликами. Влажный материал через питатель поступает в барабан и равномерно распределяется по его сечению размещенными внутри насадками. Тесно соприкасаясь при пересыпании с сушильным агентом, напр. топочными газами (возможен также контактный подвод теплоты через спец. трубчатую насадку), материал высушивается и движется к разгрузочному отверстию в приемном бункере. Газы поступают из примыкающей к барабану топки и просасываются прямотоком через него вентилятором со скоростью 0,5-4,5 м/с; для улавливания из газов пыли между барабаном и вентилятором установлен циклон. Напряжение рабочего объема барабана по испаренной влаге достигает 200 кг/(м3-ч).

Рис. 6. Барабанная сушилка: 1-барабан; 2-питатель; 3-бандажи; 4-зубчатое колесо; 5 - вентилятор; 6-циклон; 7-приемный бункер; 8-топка.
Сушилки со взвешенным слоем характеризуются высокими относит. скоростями движения фаз и развитой пов-стью контакта. Осн. гидродинамич. режимы работы: пневмотранспорт (см. также Пневмо- и гидротранспорт); закрученные потоки; псевдоожижение; фонтанирование. При существ. уменьшении в процессе сушки массы частиц дисперсного материала применяются режимы своб. фонтанирования и проходящего кипящего слоя. Среди этих сушилок наиб. распространены пневматические, вихревые камеры, аппараты с кипящим и фонтанирующим слоем, вибрационные.
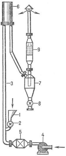
Пневматич. сушилки (рис. 7) представляют собой одну или неск. последовательно соединенных вертикальных труб длиной 15-20 м. В них через питатель подается влажный материал и вентилятором снизу нагнетается воздух, нагретый в калорифере. Материал увлекается потоком воздуха, движущимся со скоростью 15-25 м/с. В циклоне сухой материал отделяется от воздуха и удаляется через разгрузочное устройство; воздух через фильтр выводится в атмосферу. Для активизации режима сушки в трубы-сушилки вставляют турбулизаторы (расширители, отклоняющие пластины, завихрители и т.п.). Вследствие кратковременности контакта (1-5 с) такие сушилки пригодны для обработки термически нестойких материалов даже при высокой т-ре сушильного агента; их отличают также компактность, простота конструкции, но одновременно повыш. расходы электроэнергии и теплоты (до 8,4 кДж/кг влаги).
Вихревые сушильные камеры-наиб. интересные представители аппаратов с закрученными потоками сушильного агента. Эти камеры представляют собой дисковые аппараты, напоминающие центробежный вентилятор с тангенциальным подводом теплоносителя. Влажный сыпучий или волокнистый материал загружается питателем через боковую часть камеры и под действием газовых струй закручивается, образуя в аппарате кольцевой вращающийся слой. Скорость истечения газа 50-80 м/с, время пребывания в камере материала 10-20 с и 2-3 мин для частиц размером соотв. 0,1-0,2 и 3-4 мм.

Рис. 7. Пневматическая сушилка: 1-бункер; 2-питатель; 3-труба; 4-вентилятор; 5-калорифер; 6-сборник-амортизатор; 7-циклон; 8-разгрузочное устройство; 9- фильтр.

Рис. 8. Сушилки с кипящим слоем: а, б-односекционные соотв. с ненаправленным и направленным движением материалов (в первом случае-термостойких, во втором-трудно высыхающих, для к-рых необходима высокая равномерность сушки); в, г - многосекционные соотв. с расположением секций одна над другой и разделением их перегородками (для термочувствит. материалов, св-ва к-рых сильно изменяются при сушке); пунктирные линии-газораспределит. решетки.
Сушилки с кипящим слоем (КС, рис. 8) бывают постоянного, расширяющегося, прямоугольного, а также круглого сечения (в последних меньше вероятность образования застойных зон). Работа таких аппаратов существенно зависит от конструкции газораспределит. решеток, до к-рым перемещается материал и к-рые м.б. плоскими, выгнутыми, выпуклыми, с отверстиями разл. конфигурации; через них снизу продувается предварительно нагретый сушильный агент [объемный коэф. теплоотдачи 6-12 кВт/(м·К)]. Используют одно- и многосекционные сушилки. В односек" ционных аппаратах, применяемых часто для удаления поверхностной влаги (уд. влагосъем достигает 1000 кг с 1 м2 решетки), вследствие близости по гидродинамике к аппаратам идеального смешения наблюдается значит. разброс времен пребывания частиц материала, что приводит к неравномерности сушки; многосекционные сушилки обеспечивают большую равномерность высушивания материала. Аппараты с КС позволяют обрабатывать разнообразные сыпучие материалы; сушка паст, суспензий и р-ров возможна в кипящем слое инертных частиц (на их нагретой пов-сти).
Сушилки с фонтанирующим слоем-цилиндро-конические, а также вытянутые (в виде желоба) аппараты. В этих сушилках создастся режим фонтана, в ядре к-рого частицы материала движутся вверх в режиме пневмотранспорта, а на периферии медленно сползают вниз. Область применения-сушка плохо псевдоожижаемых зернистых материалов с более крупными частицами, чем в аппаратах с КС.
Вибрационные сушилки бывают с виброаэрокипящим или с виброкипящим слоем. В первом случае материал ожижает-ся благодаря воздействию вибраций и потока газа, поступающего Через перфорир. днище, во втором-только за счет вибраций. Частота и амплитуда последних обычно 20-60 Гц и 2-10 мм.
Сушилки с виброаэрокипящим слоем используют для сушки слипающихся и комкующихся дисперсных материалов, сушилки с виброкипящим слоем-гл. обр. для досушки материалов или сушки материалов с хорошими сыпучими св-вами.
·
Рис. 9. Сушилки с форсуночным (а, б) и дисковым (в, г) распылепием материалов: I - центральный закрученный подвод сушильного агента (прямоточный аппарат); II-равномерное распределение газов по сечению через решетку; III-равномерная подача газов над факелом распыла по всему сечению камеры; IV-сосредоточенная подача газов под корень факела распыла.
Распылительные сушилки (рис. 9) имеют цилиндрич. или цилиндро-конич. камеры. В них вязкие жидкие (молоко, кровь, альбумин и т. д.) и текучие пастообразные материалы распыляются в поток горячего сушильного агента мех. и пневматич. форсунками, а также вращающимися с окружной скоростью 100-200 м/с центробежными дисками (расход энергии на распыление 1 т материала составляет соотв. 2-4, 50-70 и 50-100 кВт·ч). При сушке в распыленном состоянии материала, движущегося прямо- или противотоком, а также смешанным током с нагретым сушильным агентом, благодаря большой уд. пов-сти испарения влаги процесс завершается в течение 15-30 с. Производительность сушилок по испаренной влаге 10-20000 кг/ч. Недостатки: громоздкость из-за относительно низкого напряжения рабочего объема сушильной камеры по влаге [до 25 кг/(м3·ч)]; конструктивно сложные и дорогие в эксплуатации распыли-вающие и пылеулавливающие устройства.
Контактные сушилки. Теплота, требуемая для сушки, передается теплопроводностью от нагретой пов-сти, с к-рой соприкасается высушиваемый материал. Такие сушилки работают под вакуумом или атм. давлением. Применение вакуумных сушилок, несмотря на их более высокую стоимость и сложность по сравнению с атм. сушилками, позволяет обрабатывать чувствительные к высоким т-рам, а также токсичные и взрывоопасные в-ва, получать продукты повыш. чистоты, улавливать пары неводных р-рите-лей, удаляемых из материалов.
Вакуум-сушильные шкафы (рис. 10)-простейшие контактные сушилки периодич. действия. Такая сушилка представляет собой цилиндрич. камеру, в к-рой размещены полые плиты, обогреваемые водяным паром или горячей водой. Материал слоем толщиной до 60 мм находится на противнях, установленных на плитах; напряжение их рабочей пов-сти обычно не превышает 0,5-3,5 кг/(м2 · ч) влаги. Во время работы камера герметически закрыта и соединена с вакуум-конденсац. системой и вакуум-насосом. Эти сушилки имеют небольшую производительность и малоэффективны, поскольку сушка в них происходит в неподвижном слое при наличии плохо проводящих теплоту воздушных прослоек между противнями и плитами; материал загружается и выгружается вручную. Однако шкафы универсальны, т.к. обеспечивают возможность сушки разных материалов (в т. ч. легко окисляющихся и выделяющих ценные пары) при оптим. условиях.

Рис. 10. Вакуум-сушильный шкаф: 1-ка мера; 2-полые плиты.

Рис. 11. Гребковая вакуум-сушилка: 1-корпус; 2-рубашка; 3-вал с гребками; 4-трубы-скалки.
Гребковые вакуум-сушилки (рис. 11) представляют собой горизонтальные периодически действующие аппараты с цилиндрич. корпусом, снабженным паровой рубашкой. Дисперсный материал (напр., краситель), заполняющий 20-30% объема аппарата, хорошо перемешивается гребками, закрепленными на валу мешалки, имеющей реверсивный привод, к-рый автоматически изменяет направление ее вращения с частотой 6-10 мин-1. Между гребками свободно перекатываются трубы-скалки, способствующие разрушению комков и дополнит. перемешиванию материала. Последний можно нагревать также через вал мешалки, если он выполнен полым. Разгрузка и выгрузка материала механизированы. Напряжение пов-сти сушилок по влаге 6-8кг/(м2·ч).
Вальцовые сушилки (рис. 12) предназначены для непрерывной атмосферной или вакуумной сушки вязких, жидких и пастообразных материалов (красители, пектиновый клей, молоко и т.п.). Осн. элементы-обогреваемые водяным паром полые вальцы, вращающиеся с частотой 1-13 мин-1; сушилки м. б. одно- и двухвальцовые. Материал смачивает пов-сть вальцов и высушивается в тонком слое; толщина сухой пленки, снимаемой спец. ножами, составляет 0,1-1,0 мм. Расход пара по испаряемой влаге 1,2-1,6 кг/кг, напряжение пов-сти вальцов по влаге для атмосферных и вакуумных сушилок соотв. 13-15 и 25-70 кг/(м2·ч).

Рис. 12. Вальцовые вакуум-сушилки: а-одновальцовая; б-двухвальцовая; 1-корпус; 2-полый барабан (валец); 3-корыто; 4-распределит. валик; 5-нож; 6-шнек; 7-приемный колпак; 8-сборник; 9-вальцы; 10-наклонная стенка,
Специальные сушилки. В использующих ИК излучение (l = 0,77-344 мкм) терморадиационных, или просто радиационных, сушилках достигается высокая скорость сушки благодаря подводу к влажному материалу большого кол-ва теплоты. Ее генераторами служат устанавливаемые над пов-стью высушиваемого материала (обычно перемещаемого транспортером) спец. электрич. лампы с зеркальными отражателями либо керамич. и металлич. экраны, обогреваемые горячими газами. Эти сушилки компактны и эффективны для обработки обладающих большим коэф. поглощения лучистого потока тонколистовых материалов и окрашенных пов-стей (напр., лакокрасочные покрытия, ткани, бумага и др.).
Для высушивания толстостенных материалов, когда требуется их быстрый прогрев во всем объеме, в ряде случаев эффективна сушка в поле токов высокой или сверхвысокой частоты. Такую сушку применяют для изделий из пластмасс и резины, фарфоровых изоляторов и иных материалов, обладающих диэлектрич. св-вами. Высокочастотные (диэлектрические) сушилки позволяют быстро и равномерно осуществлять сушка Однако их использование ограничено из-за дорогостоящего оборудования, большого расхода электроэнергии (до 5 кВт · ч на 1 кг испаряемой влаги) и необходимости соблюдать особые меры техники безопасности;
В сублимационных сушилках осн. часть влаги (до 85%) удаляется в замороженном состоянии под глубоким вакуумом (остаточное давление 5-330 Па) при т-ре 0°С; остальная влага испаряется тепловой вакуум-сушкой (при 30-45 °С). Теплота, необходимая для сушки, подводится к материалу от нагретых пов-стей или радиацией от нагретых экранов. Эти сушилки громоздки и сложны в эксплуатации, однако отличаются незначит. расходом теплоты (2,1-2,3 кДж/кг) и позволяют сохранить биол. св-ва высушиваемых пищ. продуктов и мед. препаратов (антибиотики, плазма крови и т.д.).
Акустические сушилки отличаются от обыкновенных конвективных, как правило, наличием излучателей ультразвуковых колебаний, источником энергии к-рых служит кинетич. энергия газовой струи. Благодаря этим излучателям высушиваемый материал подвергается со стороны газовой струи воздействию акустич. поля с уровнем интенсивности
145 дБ. По сравнению с конвективной ультразвуковая сушка позволяет в неск. раз ускорить удаление влаги из материала без существ. повышения т-ры, что особенно важно при обработке легко окисляющихся и термочувствит. продуктов. Однако из-за высокой стоимости акустич. энергии, обусловленной, в частности, низким кпд излучателей (20-25%), ультразвуковую сушку применяют ограниченно, гл. обр. в произ-ве мелкодисперсных фармацевтич. ср-в и биологически активных в-в (напр., антибиотики, гормональные препараты).
Выбор сушилок зависит от ряда факторов. К ним относятся: время сушки, агрегатное состояние, допускаемая т-ра нагрева, взрыво- и пожароопасность, токсичность, усадка, загрязнение и др. св-ва высушиваемого материала; требования к равномерности сушки; требования к системе пылеулавливания и т. д. При выборе следует отдавать предпочтение сушилкам непрерывного действия; сушка топочными газами экономичнее воздушной сушки, однако не всегда возможна из-за загрязнения материала. Если при взаимод. высушиваемого материала с влагой не образуется кислая или щелочная среда, сушилки, чаще крупногабаритные, следует выполнять из обыкновенной стали, в противном случае-из нержавеющей стали, иногда из титана.
Выбор сушилок связан с проблемой классификации материалов. В настоящее время разрабатывается такая классификация, к-рая позволила бы быстро оценивать кинетику и выбирать наиб. рациональный тип сушилки. Пример-классификация капиллярно-пористых материалов. В соответствии с ней влажные материалы дифференцируют по внутр. структуре, а за ее характеристику принимают критич. диаметр пор dкр, т.е. диаметр наиб. тонких пор, из к-рых требуется удалить влагу до достижения конечного влаго-содержания; параметр dкр позволяет оценить тс и выбрать экономически целесообразный сушильный аппарат.
Расчет сушилок обычно проводят в след. последовательности: составляют материальный баланс и определяют кол-во испаренной влаги (если нужно, по зонам); составляют тепловой баланс и находят требуемые кол-во теплоты, расходы топлива, пара, сушильного агента и т. д.; исходя из эмпирич. коэф. тепло- и массообмена или уд. напряжений на единицу объема аппарата или пов-сти (греющей или решетки) находят размеры сушильной камеры, а также необходимое число сушилок; анализируют эффективность сушильной установки: степень совершенства сушилки как теплового агрегата можно оценивать энергетич. кпд, к-рый определяется как отношение полезно используемой энергии ко всей затраченной; изменение при сушке качества энергии сушильного агента учитывает эксергетич. кпд-отношение полезно использованной эксергии к затраченной (см. Эксергетический анализ).
Совершенствование техники сушки в хим. произ-вах обусловлено ужесточением требований к охране окружающей среды, необходимостью экономии энергоресурсов и улучшения обслуживания сушильных установок. Реализуются след. направления: 1) применение технологий, при к-рых на сушку поступают наиб. подготовленные к ней материалы (напр., тонкодисперсные, с широкими порами и т. п.); 2) разработка типовых сушилок, пригодных для сушки больших групп материалов; 3) создание оптим. гидродинамики в сушильных аппаратах; 4) рациональное совмещение подготовит. стадий мех. обезвоживания (см. выше), выпаривания (для сгущения жидкой фазы), предварит. перегрева р-ров (при распылит. высушивании) и собственно сушки; 5) развитие нетрадиционных способов сушки-ИК и УФ излучением, высокочастотной, СВЧ и акустической, со сбросом давления (в материале происходят самовскипание и частичный мех. вынос влаги), перегретым паром (его теплоемкость больше теплоемкости воздуха, поэтому к материалу подводится большее кол-во теплоты), с использованием ПАВ (они ослабляют связь влаги с материалом); 6) применение комбинир. сушилок-с конвективным и контактным подводом теплоты, а также сочетающих сушку с др. процессами (измельчением, гранулированием, хим. р-циями и т. д.); 7) использование экологически рациональных сушилок - безуносных (сушка происходит одновременно с улавливанием готового продукта, напр. в сушилках со встречными закрученными потоками), с организацией процесса т. обр., чтобы на пылеочистку поступало меньшее кол-во крупнодисперсного материала, а также с макс. утилизацией теплоты отработанного сушильного агента.
Сушка в лабораторных условиях
В лаб. практике применяют в осн. те же методы и сушилки, что и при пром. сушке. Исследования механизмов, периодического и непрерывного режимов сушки в-в и материалов, особенностей их поведения и св-в сушильных агентов, отработку гидродинамики и конструкций сушильных аппаратов проводят на опытных установках, моделирующих пром. сушилки.
Для высушивания в-в, устойчивых к нагреванию, используют работающие при атм. давлении сушильные шкафы след. типов: медные или асбестовые с газовым либо иным обогревом; медные с водяной рубашкой и газовым обогревом; электрические-со спиральными и др. проволочными нагреват. элементами; с терморегулятором и сигнальной лампой; с автоматич. регулировкой обогрева; для быстрого высушивания горячим воздухом.
Для сушки в-в, легко разлагающихся при нагр. до 100°С, применяют вакуум-сушильные шкафы, снабженные рубашкой для жидкого теплоносителя, с газовым либо электрич. обогревом. Для осторожного и быстрого высушивания мн. осадков удобно пользоваться металлич. штативами с укрепленными на них рефлекторами, к-рые снабжены лампами ИК излучения или обычными электролампами мощностью не менее 200 Вт. Применяют также т. наз. карусельные инфракрасные сушилки, позволяющие высушивать одновременно неск. образцов, и т.д. Для высушивания хим. посуды используют спец. сушилки, в к-рых воздух нагревается в металлич. змеевике, либо сушильные шкафы (при 80-100°С). Возможна сушка в-в и посуды на открытом воздухе.
Кроме тепловых применяют также др. методы обезвоживания: путем хим. связывания влаги в-вами (напр., металлич. Na, CaC2), не взаимодействующими с осушаемыми жидкостями; поглощением из твердых тел и жидкостей паров воды гигроскопич. в-вами (напр., СаСl2, конц. H2SO4); твердыми адсорбентами с высокой уд. пов-стью, напр. цеолитами, поглощающими влагу из жидкостей (т. наз. лиофильное высушивание); сушку сублимированием и др. Твердые в-ва (легко взрывающиеся) сушат в струе инертного газа (напр., азота или гелия, иногда СО2). Обезвоживание в-в и высушивание посуды можно проводить в эксикаторах (обыкновенных и вакуумных) и на открытом воздухе.
Лит.: Лыков А. В., Тепломассообмен. Справочник, под ред. В. В. Красникова, М., 1978; Романков П. Г., Рашковская Н.Б., Сушка во взвешенном состоянии, 3 изд., Л., 1979; Сажин Б. С., Основы техники сушки, М., 1984; Расчеты аппаратов кипящего слоя. Справочник, под ред. И. П. Мухленова, Б. С. Сажина, В.Ф.Фролова, Л., 1986; Долинский А. А., Малецкая К. Д., Шморгун В. В., Кинетика и технология сушки распылением, К., 1987; Фролов В.Ф., Моделирование сушки дисперсных материалов, Л., 1987; Мушта-ев В. И., Ульянов В. М., Сушка дисперсных материалов, М., 1988; Сушильные аппараты и установки. Каталог НИИХИММАШ, М., 1988; Сажин Б. С., Реутский В. А., Сушка и промывка текстильных материалов: теория и расчет процессов, М., 1990. Б. С. Сажин, Б. П. Лукачсвский.